| № | Наименование | Примечание | Кол-во |
|---|---|---|---|
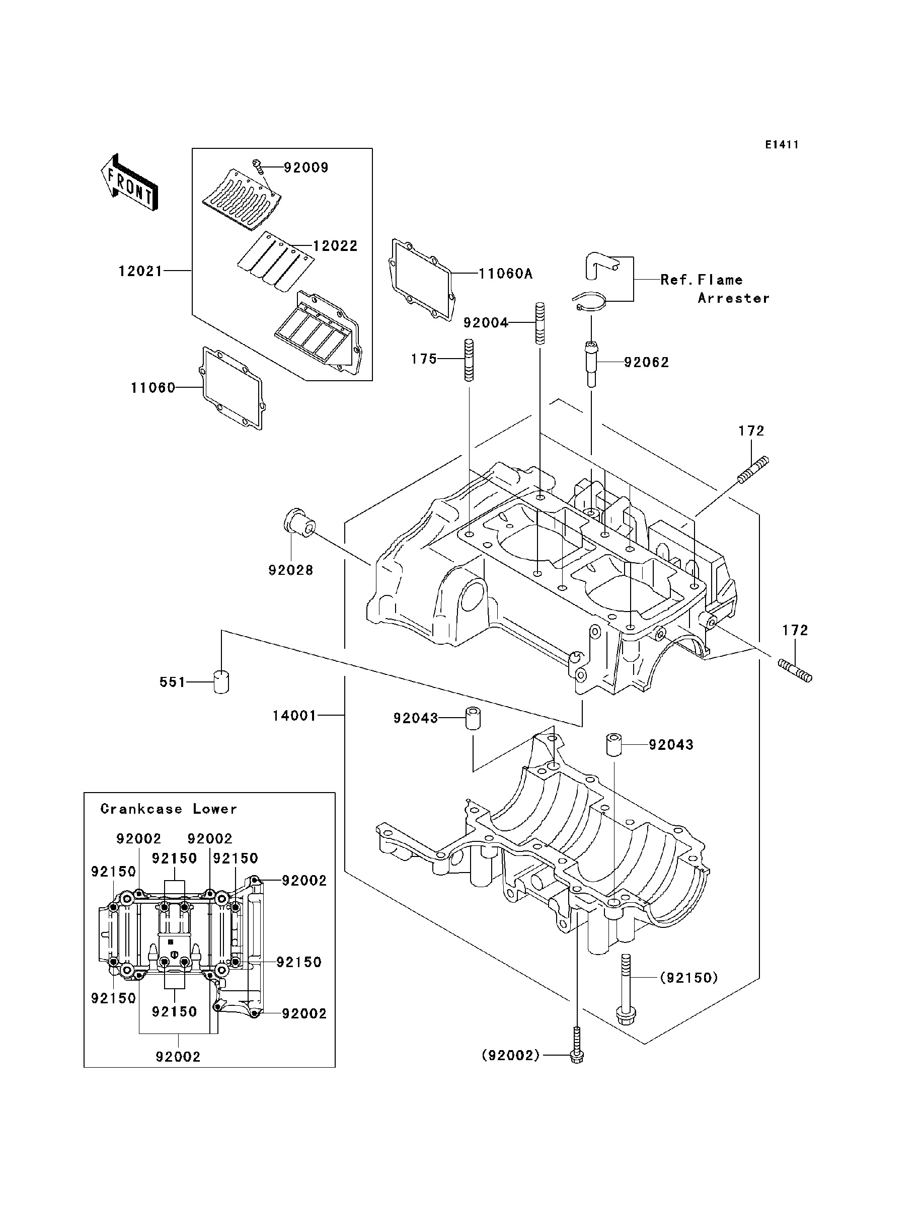
| 172 | BOLT-STUD | 14 | |
| 175 | BOLT-STUD-FINE | 4 | |
| 551 | PINDOWEL | 1 | |
| 11060 | GASKETREED VALVE | 2 | |
| 11060A | GASKETREED VALVE | 2 | |
| 12021 | VALVE-ASSY-REED | 2 | |
| 12022 | VALVE-REED | 4 | |
| 14001 | SET-CRANKCASE | 1 | |
| 92002 | BOLT6X30 | 7 | |
| 92004 | STUDCRANK CASE | 4 | |
| 92009 | SCREW3X6 | 16 | |
| 92028 | BUSHING | 1 | |
| 92043 | PINDOWEL10X8.2X14 | 2 | |
| 92062 | NOZZLE | 1 | |
| 92150 | BOLT8X65 | 8 |
