| № | Наименование | Примечание | Кол-во |
|---|---|---|---|
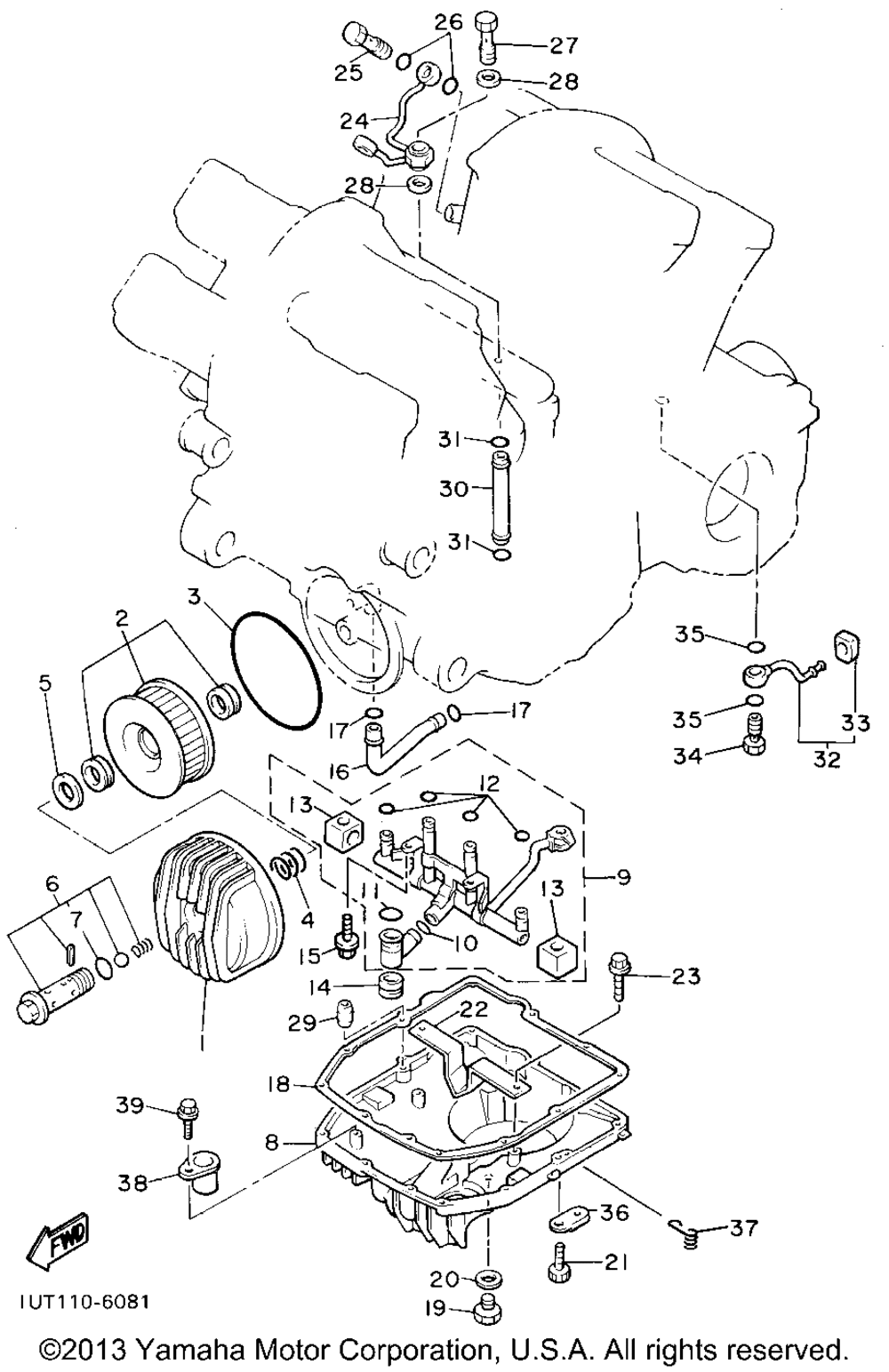
| 1 | COVER OIL ELEMENT | 1 | |
| 2 | Фильтр масляный | 1 | |
| 3 | O-RING | 1 | |
| 4 | SPRING COMPRESSION | 1 | |
| 5 | WASHER PLATE | 1 | |
| 6 | BY-PASS VALVE ASSEMBLY | 1 | |
| 7 | O-RING | 1 | |
| 8 | COVERSTRAINER | 1 | |
| 9 | DELIVERY PIPE ASSY | 1 | |
| 10 | O-RING (5 per pack) | 1 | |
| 11 | O-RING | 1 | |
| 12 | O-RING | 4 | |
| 13 | GROMMET | 2 | |
| 14 | GROMMET | 1 | |
| 15 | .BOLT FLANGE | 2 | |
| 16 | PIPEDELIVERY 1 | 1 | |
| 17 | O-RING (5 per pack) | 2 | |
| 18 | GASKET STRAINER COVER | 1 | |
| 19 | PLUGSTRAIGHT SCRW | 1 | |
| 20 | GASKET | 1 | |
| 21 | BOLTHEX SKT HEAD | 12 | |
| 22 | PLATEBAFFLE LOWER | 1 | |
| 24 | PIPE DELIVERY 3 (26H-13181-03- | 1 | |
| 25 | BOLT UNION | 2 | |
| 26 | Шайба уплотнительная сливной пробки | 4 | |
| 27 | BOLTUNION | 1 | |
| 28 | WASHERPLATE | 2 | |
| 29 | PIN DOWEL | 2 | |
| 30 | PIPEDELIVERY 2 | 1 | |
| 32 | PIPEOIL 1 | 1 | |
| 33 | GASKET (5 per pack) | 1 | |
| 34 | BOLTUNION | 1 | |
| 36 | CLAMP | 1 | |
| 37 | CLAMP | 1 | |
| 38 | STAY | 1 |
