| № | Наименование | Примечание | Кол-во |
|---|---|---|---|
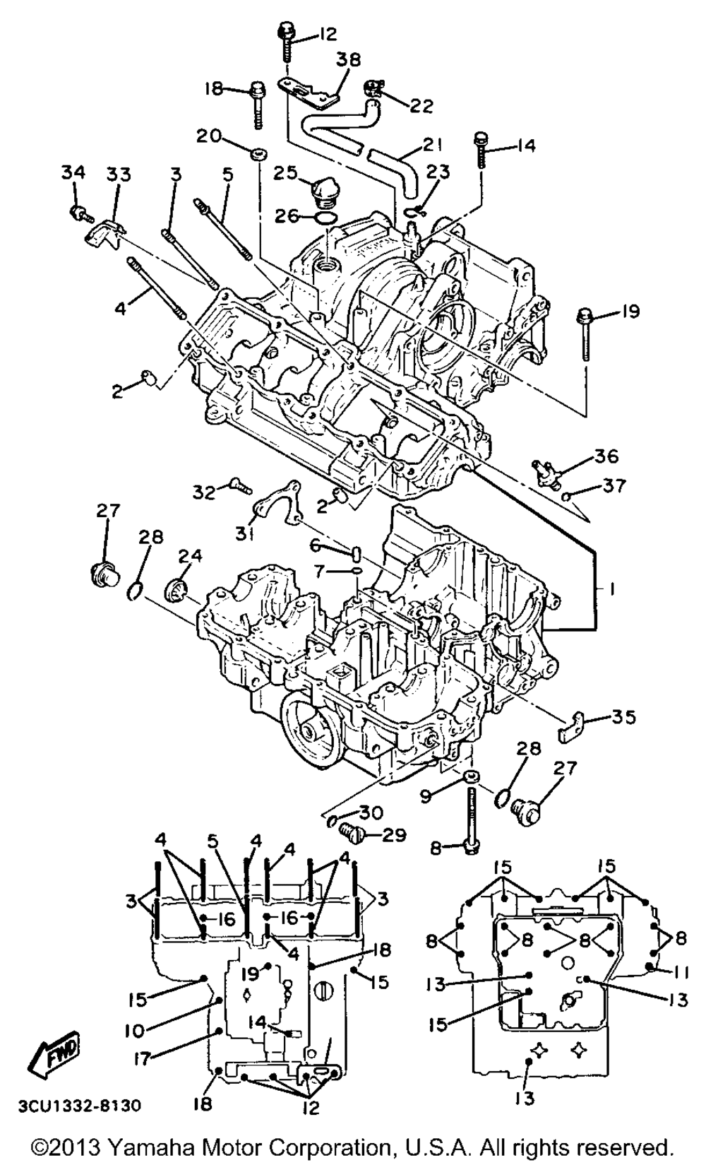
| 1 | CRANKCASE ASY | 1 | |
| 2 | PINDOWEL | 2 | |
| 3 | BOLTSTUD | 4 | |
| 4 | BOLTSTUD | 7 | |
| 5 | BOLTSTUD | 1 | |
| 6 | COLLAR | 2 | |
| 7 | O-RING (5 per pack) | 2 | |
| 8 | BOLTWASHER BASED | 10 | |
| 9 | WASHERPLATE | 4 | |
| 10 | BOLTFLANGE | 1 | |
| 11 | BOLTFLANGE (JN5) | 1 | |
| 12 | BOLTFLANGE | 4 | |
| 13 | BOLT FLANGE | 3 | |
| 14 | BOLT FLANGE | 1 | |
| 16 | BOLT FLANGE (91006-08055-00) | 3 | |
| 17 | BOLTFLANGE | 1 | |
| 18 | BOLT FLANGE | 2 | |
| 19 | BOLTFLANGE | 1 | |
| 20 | Шайба уплотнительная сливной пробки | 1 | |
| 21 | PIPEBREATHER 1 | 1 | |
| 22 | CLIPSCISSOR | 1 | |
| 23 | CLIPSCISSOR | 1 | |
| 24 | GAUGELEVEL | 1 | |
| 25 | PLUGOIL | 1 | |
| 26 | O-RING | 1 | |
| 27 | PLUG | 2 | |
| 28 | O-RING (5 per pack) | 2 | |
| 29 | PLUGSTRAIGHT SCRW | 1 | |
| 30 | O-RING | 1 | |
| 31 | PLATEBRNG COVER | 1 | |
| 32 | SCREWCOUNTERSUNK | 3 | |
| 33 | CLAMP | 1 | |
| 34 | BOLTFLANGE (4MY) | 1 | |
| 35 | CLAMP | 1 | |
| 36 | NOZZLE ASSY | 2 | |
| 37 | O-RING | 2 |
