№ | Наименование | Примечание | Кол-во |
---|---|---|---|
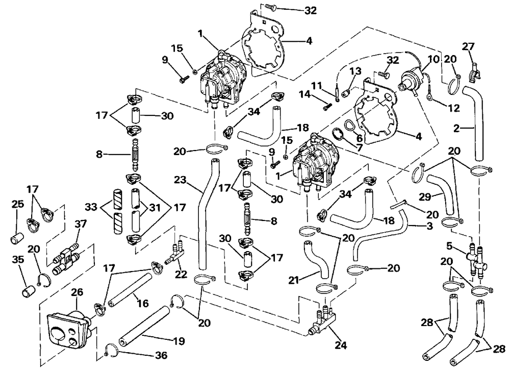
1 | KIT AYF PUMP&LMTR | 2 | |
2 | Детать | 1 | |
4 | BRACKET | 2 | |
5 | BY-PASS VALVE AY | 1 | |
6 | WASHER | 1 | |
7 | Детать | 1 | |
8 | SIGHT TUBE | 2 | |
9 | SCREW | 6 | |
10 | KIT AYVAC SWITCH | 1 | |
11 | RING TERMINAL | 1 | |
12 | TERM. 61867-2 0.250 in. (6.3 mm) diameter | 1 | |
13 | TERMINAL POST | 1 | |
14 | SCREW | 1 | |
15 | WASHER | 6 | |
17 | SNAP CLAMP tahos_6 25PK (025 per pack) | 14 | |
20 | TIE STRAP 100PK (100 per pack) | 0 | |
21 | HOSE | 1 | |
22 | "F"FITTING-OIL | 1 | |
23 | HOSE | 1 | |
24 | CONNECTOR | 1 | |
25 | PLUG PUMP HSG | 1 | |
26 | GROMMET | 1 | |
27 | PLUG HOLDER | 1 | |
29 | HOSEPUMP TO MAN | 1 | |
31 | HOSE-OIL | 1 | |
32 | SCREW | 4 | |
33 | SPIRAL TUBE | 1 | |
35 | PLUG | 1 | |
36 | SNAP CLMP tahos_14 25PK (025 per pack) | 1 | |
37 | CONNECTOR FUEL | 1 |