№ | Наименование | Примечание | Кол-во |
---|---|---|---|
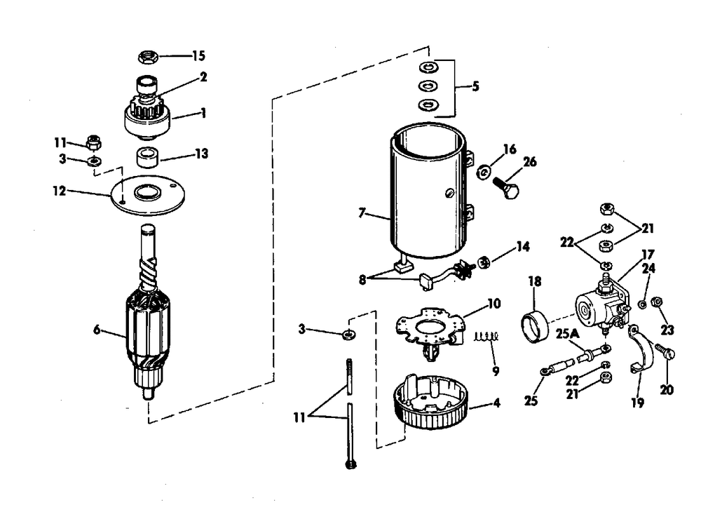
1 | STARTER DRIVE 10TH MKW-4006 STARTER MOTOR (STAMPED ON STARTER FRAME & FIELD) | 1 | |
2 | SPRING MKW-4006 STARTER MOTOR (STAMPED ON STARTER FRAME & FIELD) | 1 | |
3 | WASHER | 4 | |
4 | HEAD AY | 1 | |
5 | THRUST WASHR | 1 | |
6 | MKW-4006 STARTER MOTOR (STAMPED ON STARTER FRAME & FIELD) | 1 | |
7 | Детать | 1 | |
8 | BRSH & TERMAL | 1 | |
9 | SPRING SET | 1 | |
10 | BRUSH PLATE AY | 1 | |
11 | KIT AYTHRU BOLT | 1 | |
12 | HEAD AY | 1 | |
13 | BEARING | 1 | |
14 | NUT | 1 | |
15 | NUT | 1 | |
16 | LOCKWASHER | 3 | |
17 | SOLENOID AYSTART | 1 | |
18 | SLEEVE | 1 | |
19 | CLAMP | 1 | |
20 | SCREW | 2 | |
21 | NUT | 3 | |
22 | LOCKWASHER | 3 | |
23 | NUT.190X32 BRASS | 2 | |
24 | LOCK WASHER | 2 | |
25 | LEAD SOL-STARTER | 1 | |
26 | SCREW | 1 | |
26 | SCREW | 2 | |
0384914 | Not Shown | 1 |