Оригинальные каталоги
Масла и жидкости
Масла моторные
Масла трансмиссионные
Жидкости гидравлические
Жидкости охлаждающие
Жидкости тормозные
Масла гидравлические
Масла для вилок и амортизаторов
Масла компрессорные
Жидкости для стекол
Масла для цепей бензопил
Масла индустриальные
Масла промывочные
Раствор мочевины AdBlue
Автоэлектроника
Видеорегистраторы
Пылесосы автомобильные
FM трансмиттеры
Зарядные устройства
Разветвители, удлинители прикуривателя
Кабели
Вентиляторы автомобильные
Штекер прикуривателя
Датчик парктроника
Камеры заднего вида
Мониторы парковочные
Парктроники
Термометры
Накидки на сиденье с подогревом
Автохолодильники
Антирадары
Диагностический сканер
Аксессуары
Набор автомобилиста
Ароматизаторы
Тросы буксировочные
Канистры
Ремни крепления груза
Стяжки-резинки крепления
Сетки для крепления груза
Скотч
Влажные салфетки
Держатели телефонов, планшетов
Карты памяти
Наушники
Аккумулятор холода
Термосумки и контейнеры
Фонарики
Батарейки
Оплетки на руль
Огнетушители
Салфетки, полотенца, варежки
Инструмент
Домкраты
Компрессоры
Манометры
Насосы
Светильники переносные
Шарнирно-губцевый инструмент
Ударный инструмент
Метчики. Плашки
Заклёпочники
Заклёпки
Измерительный инструмент
Свёрла
Отвёртки
Изолента
Надфили. Напильники
Ножи, ножовки
Щётки
Абразивная бумага
Специнструмент
Ключи
Хомуты
Дрель-шуруповерт
Автохимия
Присадки
Промывки
Очистители
Смазки спрей
Смазки пластичные
Герметики
Средство для рук
Клей
Лакокрасочные материалы
Автошампуни
Полироли
Антифриз для тормозной системы
Масло для пропитки фильтров
Антикоррозионные составы
Прочее
Электрооборудование
Зарядные устройства
Инверторы
Конвертеры
Звуковые сигналы
Провода прикуривания
Предохранители
Противотуманные фары
Дневные ходовые огни
Электрика фаркопа
Шины и диски
Автошины
Грузовые шины
Мотошины
Камеры
Мотокамеры
Лента обода шины
Колпаки
Диски
Одежда и экипировка
Жилеты
Запчасти
Аккумуляторы
Лампы
Щетки стеклоочистителя
Гофры глушителя
Велотовары
Велосипеды
Самокаты
Велокамеры
Искать по VIN или номеру детали
Поиск по штрих-коду
Искать по VIN-номеру
Войти
Авторизация
Логин
Пароль
Напомнить пароль
Запомнить
Войти
Зарегистрироваться
Авторизоваться другим способом
Востановить пароль
Введите ваш email:
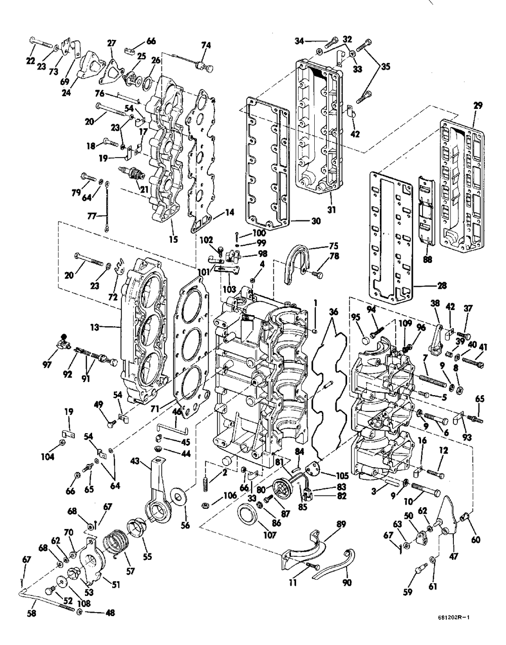
POWERHEAD GROUP
Корзина пуста
Evinrude
55 55972C
55 55972C
POWERHEAD GROUP
№
Наименование
Примечание
Кол-во
1
DOWEL
3
2
STUD
1
3
PIN 4PK (004 per pack)
2
4
PLUG LARGE MANIFD
1
5
SCREW
8
6
Детать
4
7
STUD
2
8
NUT
2
9
WASHER
8
10
SCREW
2
11
SCREW
3
12
SCREW HX TSX Models Only
2
13
CYLINDER HEAD
1
14
GASKET CYL HD CVR
1
15
COVER NLA
1
16
CLAMP 'J'
2
17
J-CLAMP
1
19
CLAMP 'J' Rope Start Models Only
4
20
SCREW
18
21
SP PLUG L76V 8PK (008 per pack)
3
21
SP PLUG L76V 8PK (008 per pack)
3
22
Детать
3
23
WASHER
20
24
COVER
1
25
THERMOSTAT AY
1
26
GASKET 5PK (005 per pack)
1
27
GASKET
1
28
GASKET
1
29
Детать
1
30
GASKET
1
31
Детать
1
34
SCREW
1
35
SCREW
18
37
SCREW
2
38
BRACKET
1
39
SPRING
1
40
NUT
1
41
SCREW
1
42
J-CLAMP
3
43
Детать
1
44
JOINT KIT 5 PK (005 per pack)
2
45
JOINT KIT 5 PK (005 per pack)
2
46
Детать
1
47
Детать
1
48
Детать
1
49
SCREW 1/4-20
1
50
YOKE
1
51
Детать
1
52
SCREW POSITIVE
1
53
BUSHING
1
54
CLAMP
3
55
BUSHING
1
56
WASHER
1
57
SPRING
1
58
LINK
1
59
SCREW
1
60
Детать
1
61
WASHER
1
62
WASHER
2
63
WASHER
4
64
WASHER
3
65
40TE Models Only
2
66
RETAINER
3
67
COTTER PIN 10PK (010 per pack)
3
69
CLAMP
1
70
BUSHING
1
71
HD GASKET70/75HP
1
72
RETAINER
1
73
RETAINER
1
74
ELECTRIC START MODELS ONLY
1
75
BRACKET
1
76
Детать
1
77
Детать
1
78
CAPSCREW
2
79
SCREW
1
80
VACUUM SW AY.
1
81
LEAD AY
1
82
TERM.-2973915
2
83
140 HP TNT MODELS ONLY
1
84
SLEEVE
1
85
RETAINER
1
86
CONTACT WASHER
1
87
Детать
2
88
Детать
1
89
Детать
1
90
SEAL
1
91
THERMO SW AY
1
92
Детать
2
93
CLAMP 'J'
1
94
Детать
1
95
BUMPER
1
96
NUT-SPARK ADJ Electric Start Models Only
1
98
SAFETY SWITCH AY
1
99
WASHER 25 TE Models Electric Start 35 Models
1
100
SCREW
2
102
SCREW
1
103
BRACKET Electric Start Models
1
104
NUT
1
105
GASKET
1
106
NUT
1
107
Детать
1
108
WASHER (9.9 Rope Models. 9.9 Tiller Electric High Thrust Models. 15 Rope Models.)
1
109
LOCKWASHER
1
0382502
Not Shown
1
0383306
Not Shown
1