№ | Наименование | Примечание | Кол-во |
---|---|---|---|
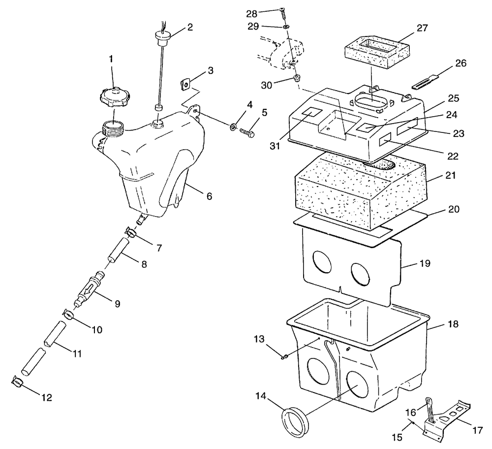
1 | CAP-OILVENTED/CUSTOM COLOR | 1 | |
2 | SENSOROIL LEVEL | 1 | |
3 | NUT (10) (10 per pack) | 1 | |
4 | WASHERWROUGHT | 1 | |
5 | BOLT | 1 | |
7 | CLAMPHOSE | 1 | |
9 | FILTEROIL | 1 | |
10 | CLAMPHOSE(10) (10 per pack) | 1 | |
11 | LINEFUEL1/4 ID(1525 CM.) | 0 | |
12 | CLAMP-HOSE | 1 | |
13 | FITTINGHOSE(10) (10 per pack) | 2 | |
14 | BOOT-CARBURETOR70 DURO | 2 | |
15 | RIVETINTERLOCKB(50) (50 per pack) | 4 | |
16 | STRAPTIE-DOWN | 1 | |
19 | PLATESILENCERINTAKEVERT. | 1 | |
20 | PLATESILENCER INTAKE | 1 | |
24 | DECALCAUTION | 1 | |
25 | TOPSILEN.INTAKE | 1 | |
26 | RETAINER-TAB | 1 | |
28 | SCREW(10) (10 per pack) | 2 | |
29 | WASHER(10) (10 per pack) | 2 | |
30 | NUT-WELL(10) * (10 per pack) | 2 |