№ | Наименование | Примечание | Кол-во |
---|---|---|---|
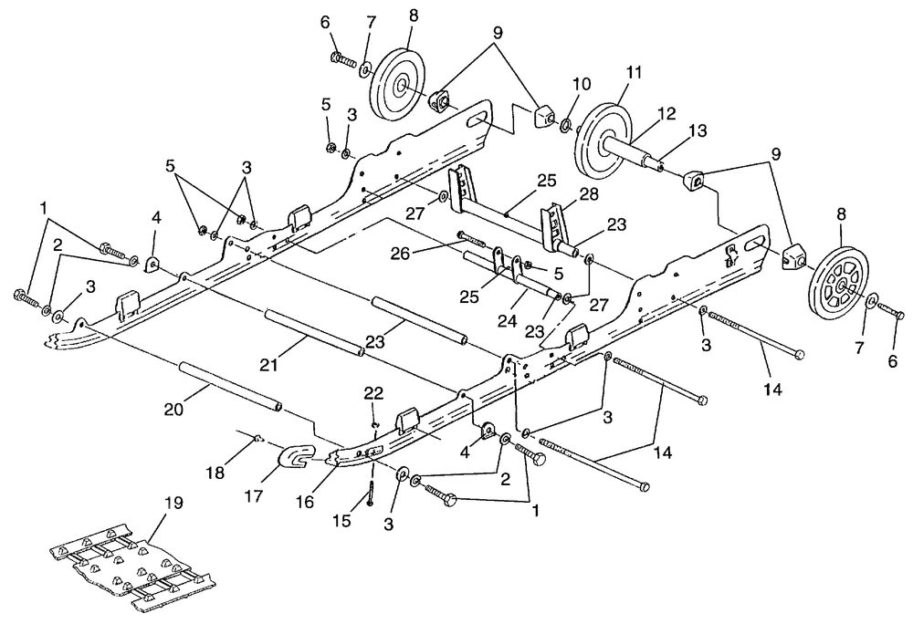
1 | SCREW(10) (10 per pack) | 4 | |
2 | WASHERSPRING LOCK(10) (10 per pack) | 4 | |
3 | WASHERFLAT(10) (10 per pack) | 8 | |
5 | NUTFLEXLOC(10) (10 per pack) | 4 | |
6 | BOLT3/8-16X1.25(10) (10 per pack) | 2 | |
7 | WASHER-.406X1.25X.125 (10) (10 per pack) | 2 | |
8 | WHEELIDLERBLK(20MM) (US Opt. 3) | 2 | |
9 | SPACERIDLER | 4 | |
10 | BUSHING(10) (10 per pack) | 1 | |
12 | SPACERIDLERLONG | 1 | |
13 | SHAFTIDLER | 1 | |
14 | SCREW | 3 | |
16 | SLIDERWHI.(2) (2 per pack) | 2 | |
19 | CLIPGUIDE(10) (10 per pack) | 0 | |
19 | CLIP TRACK(CAMOPLAST)(10) | 0 | |
19 | TRACK-136" X 15" X 1" HACKSAW (Euro) | 1 | |
20 | SHAFTPIVOT ARM | 1 | |
21 | SHAFTPIVOT ARM | 1 | |
23 | SHAFT | 3 | |
25 | FITTINGLUBRICATIONTHREADED(10 | 2 | |
26 | BOLT | 1 | |
27 | WASHERFLAT(10) (10 per pack) | 4 | |
28 | ARMREAR PIVOT | 1 |