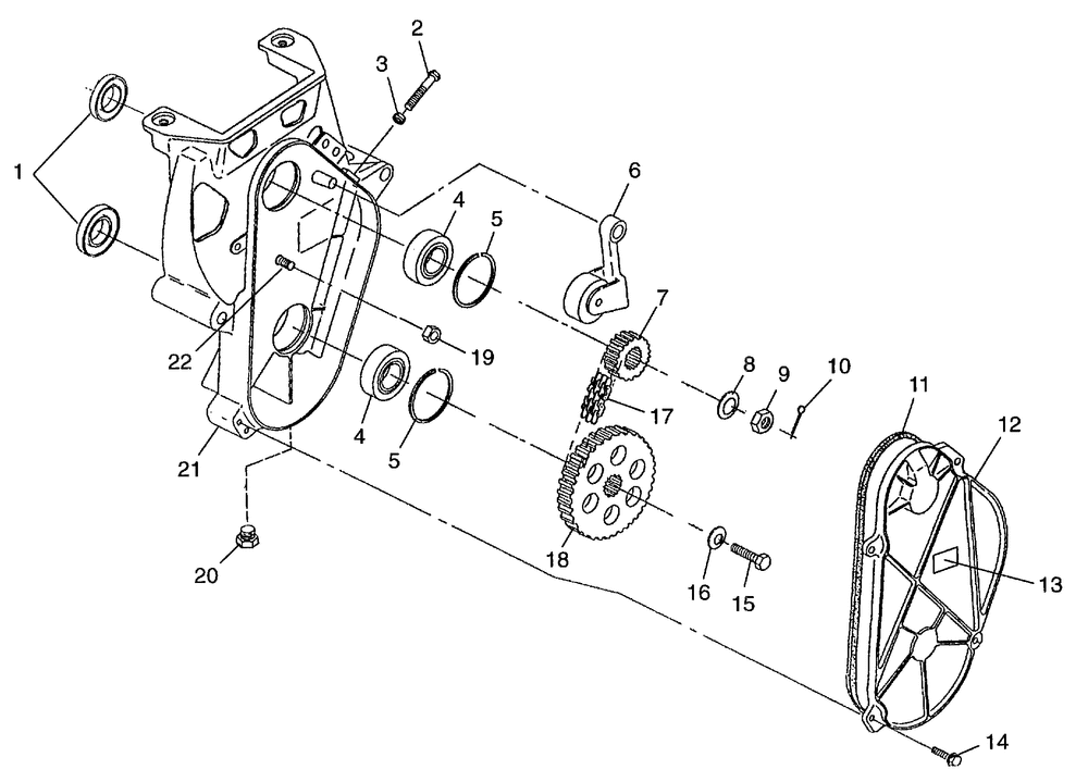
№ | Наименование | Примечание | Кол-во |
---|---|---|---|
1 | SEAL OIL(10) (10 per pack) | 2 | |
2 | SCREW | 1 | |
3 | NUT | 1 | |
4 | BEARINGBALL tahos_6205 | 2 | |
5 | RINGRETAINING | 2 | |
6 | BEARING | 1 | |
6 | WHEELC/C IDLER | 1 | |
6 | WASHER THRUST | 2 | |
6 | PINCHAIN TIGHTENER | 1 | |
6 | TIGHTENERCHAINCASE | 1 | |
8 | WASHER SPRING | 1 | |
9 | NUT-5/8-18 THINNYL INSERT-Y | 1 | |
10 | PINCOTTER(10) (10 per pack) | 1 | |
11 | GASKETCHAINCASELONG | 1 | |
12 | COVERCHAINCASE | 1 | |
14 | SCREW(10) (10 per pack) | 4 | |
15 | SCR-5/16-18 3/4 HXHD/NYLGR8-P | 1 | |
16 | WASHERSPRING | 1 | |
17 | CHAIN-HYVO23-14970P34W | 1 | |
18 | SPKT41T15T SPLHYVOPM | 1 | |
19 | NUT NYLOK(10) * (10 per pack) | 1 | |
20 | PLUG(10) (10 per pack) | 1 | |
21 | CHAINCASEVENTED | 1 | |
22 | SCREW CARRIAGE | 1 |