| № | Наименование | Примечание | Кол-во |
|---|---|---|---|
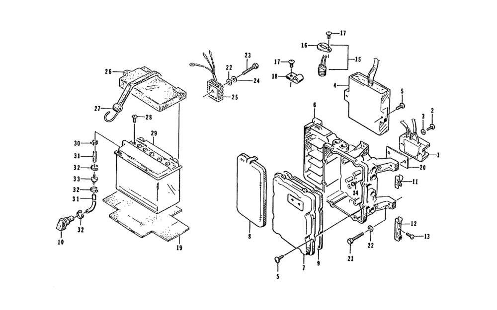
| 1 | REGULATOR/RECTIFIER | 1 | |
| 2 | SCREW6X25 | 2 | |
| 3 | WASHER | 2 | |
| 4 | CDI | 1 | |
| 5 | SCREW6X20 | 3 | |
| 6 | CASE ELECTRICAL | 1 | |
| 7 | COVERCASE | 1 | |
| 8 | GASKETEXHAUST MANIFOLD | 1 | |
| 9 | GASKETEXHAUST PIPE | 1 | |
| 10 | VENTTHRU-HULLW/HOOD | 1 | |
| 11 | HOLDER GROMMET | 3 | |
| 12 | HOLDER GROMMET | 1 | |
| 13 | SCREWCAP-M5X16 | 4 | |
| 14 | SCREW 6X12 (10 per pack) | 1 | |
| 15 | SENSOR ASSYHEAT | 1 | |
| 16 | SUPPORTER ENGINE TEMP SNSR | 1 | |
| 17 | SCREW 6X10 (10 per pack) | 3 | |
| 18 | CLAMP HEAT SENSORM12 | 1 | |
| 19 | PADBATTERY | 1 | |
| 20 | BASEREGULATOR | 1 | |
| 21 | SCREWCAP-HH-6MM-1.0TX35MM(SS) | 4 | |
| 22 | WASHERFLAT-6MM SS (5 per pack) | 5 | |
| 23 | SCREWCAP-HH6MM 1.0TX45MM(SS) (5 per pack) | 1 | |
| 24 | WASHERLOCK-SL .250 SS | 1 | |
| 25 | MODULEBILGE PUMP | 1 | |
| 26 | COVERBATTERY | 1 | |
| 27 | STRAP ASSY-8 5/8 | 2 | |
| 28 | BATTERY CAP (6 per pack) | 6 | |
| 29 | BATTERYES-12V 19AH-6.9 X 4.0 X 6.9 (inc. 28) | 1 | |
| 30 | CLAMP HOSE-BATTERY VENT | 1 | |
| 31 | HOSE BATTERY VENT-550MM | 1 | |
| 32 | TIECABLE-4 INCH PLT1M (5 per pack) | 3 | |
| 33 | VALVECHECK W/FILTER 3/16-3/16 | 1 |
