Оригинальные каталоги
Масла и жидкости
Масла моторные
Масла трансмиссионные
Жидкости гидравлические
Жидкости охлаждающие
Жидкости тормозные
Масла гидравлические
Масла для вилок и амортизаторов
Масла компрессорные
Жидкости для стекол
Масла для цепей бензопил
Масла индустриальные
Масла промывочные
Раствор мочевины AdBlue
Автоэлектроника
Видеорегистраторы
Пылесосы автомобильные
FM трансмиттеры
Зарядные устройства
Разветвители, удлинители прикуривателя
Кабели
Вентиляторы автомобильные
Штекер прикуривателя
Датчик парктроника
Камеры заднего вида
Мониторы парковочные
Парктроники
Термометры
Накидки на сиденье с подогревом
Автохолодильники
Антирадары
Диагностический сканер
Аксессуары
Набор автомобилиста
Ароматизаторы
Тросы буксировочные
Канистры
Ремни крепления груза
Стяжки-резинки крепления
Сетки для крепления груза
Скотч
Влажные салфетки
Держатели телефонов, планшетов
Карты памяти
Наушники
Аккумулятор холода
Термосумки и контейнеры
Фонарики
Батарейки
Оплетки на руль
Огнетушители
Салфетки, полотенца, варежки
Инструмент
Домкраты
Компрессоры
Манометры
Насосы
Светильники переносные
Шарнирно-губцевый инструмент
Ударный инструмент
Метчики. Плашки
Заклёпочники
Заклёпки
Измерительный инструмент
Свёрла
Отвёртки
Изолента
Надфили. Напильники
Ножи, ножовки
Щётки
Абразивная бумага
Специнструмент
Ключи
Хомуты
Дрель-шуруповерт
Автохимия
Присадки
Промывки
Очистители
Смазки спрей
Смазки пластичные
Герметики
Средство для рук
Клей
Лакокрасочные материалы
Автошампуни
Полироли
Антифриз для тормозной системы
Масло для пропитки фильтров
Антикоррозионные составы
Прочее
Электрооборудование
Зарядные устройства
Инверторы
Конвертеры
Звуковые сигналы
Провода прикуривания
Предохранители
Противотуманные фары
Дневные ходовые огни
Электрика фаркопа
Шины и диски
Автошины
Грузовые шины
Мотошины
Камеры
Мотокамеры
Лента обода шины
Колпаки
Диски
Одежда и экипировка
Жилеты
Запчасти
Аккумуляторы
Лампы
Щетки стеклоочистителя
Гофры глушителя
Велотовары
Велосипеды
Самокаты
Велокамеры
Искать по VIN или номеру детали
Поиск по штрих-коду
Искать по VIN-номеру
Войти
Авторизация
Логин
Пароль
Напомнить пароль
Запомнить
Войти
Зарегистрироваться
Авторизоваться другим способом
Востановить пароль
Введите ваш email:
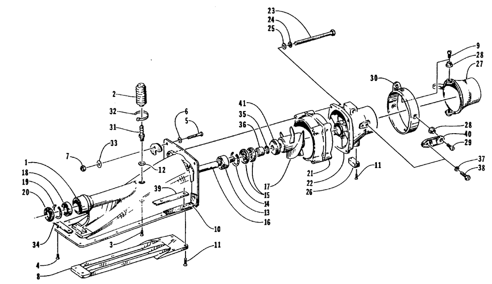
IMPELLER DRIVE ASSEMBLY
Корзина пуста
Arctic Cat
DAYTONA
DAYTONA
IMPELLER DRIVE ASSEMBLY
№
Наименование
Примечание
Кол-во
1
INLETPUMP
1
2
BLADDER CASE
1
3
SCREWMACH PHPNH 6MM 1.0TX15MM (SS)
1
4
SCREWMACH-TSFH 6MM-1.0 X 35MM (SS) (4 per pack)
13
5
SCREWCAP-HH 10MM 1.5TX35MM SS (4 per pack)
4
6
WASHERFLAT-10MM SS (5 per pack)
4
7
NUTHEX-THIN BLU NSL 10MM SS Not Included in Assembly (2 per pack)
4
8
GRATEINLET-BLACK
1
9
SCREWCAP-HSH 8MM 1.25P X 10MM-SS (4 per pack)
2
10
SEALPUMP INLET BASE
1
11
SCREWMACH-TSFH 6MM-1.0 X 20MM (SS) (4 per pack)
8
13
BEARINGREARPUMP(KOYO5303)
1
14
SNAPRING-REAR -PUMP-SS(N1300-187)
1
15
SEALREAR-PUMP 25X47X7
2
16
DRIVESHAFT-STAINLESS STEEL
1
17
IMPELLER PKGDAYTONA
1
18
BEARINGFRONT-PUMP {62/22RKB}
1
19
SNAPRING-FRONT PUMP-SS(N1300-193)
1
20
SEALFRONT-PUMP 22X50X10
1
21
WEAR RING W/SS. SLEEVE
1
22
VENTURISTATOR
1
23
SCREWCAP-HH 8MM-1.25TX110MM SS (4 per pack)
4
24
WASHERLOCK-SL 8MM SS (5 per pack)
4
25
WASHERFLAT-8MM SS (5 per pack)
4
26
ZINC ANODES
1
27
NOZZLESTEERING-BLACK
1
28
BUSHINGTRIM RING (ARDEN 212NN-0203)
4
29
SCREWCAP-HSH 8MM 1.25P X 16MM-SS
4
31
FITTING3/8 NPT X 1/4 BARB (NYLON)
1
32
TIECABLE-4 INCH PLT1M (5 per pack)
1
33
WASHERFLAT-FENDER 10MM 1 3/8 OD (SS) Not Included in Assembly (4 per pack)
4
35
O-RING5/8 ID X 3/32 (-114)
1
36
SPACER IMPELLER
1
37
WASHERLOCK-SL 6MM SS (5 per pack)
2
38
SCREWCAP-HH 6MM-1.0X16MM SS (4 per pack)
2
40
BRACKETTRIM RING
2
41
SPACER IMPELLER-SHAFT
1