| № | Наименование | Примечание | Кол-во |
|---|---|---|---|
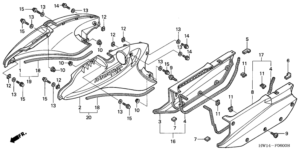
| 004 | SEAL SIDE PANEL | 0 | |
| 005 | SEAL A R. | 0 | |
| 006 | SEAL A L. | 0 | |
| 007 | SEAL B SIDE PANEL | 0 | |
| 009 | BOLT SPECIAL (6X25) | 0 | |
| 010 | NUT FLANGE (5MM) | 0 | |
| 011 | NUT CLIP (6MM) | 0 | |
| 012 | NUT, CLIP (5MM) | 0 | |
| 013 | WASHER, PLAIN (5MM) | 0 | |
| 014 | BOLT HEX. (5X16) | 0 | |
| 015 | BOLT HEX. (5X25) | 0 | |
| 016 | PNL R. SI *NH475R* (SPLASH WHITE) | 0 | |
| 017 | PNL L. SI *NH475R* (SPLASH WHITE) | 0 | |
| 018 | MOLDING WINDSCREEN | 0 | |
| 019 | CVR R. SI *PB356M* (NOVA BLUE METALLIC) | 0 | |
| 020 | CVR L. SI *PB356M* (NOVA BLUE METALLIC) | 0 |
