| № | Наименование | Примечание | Кол-во |
|---|---|---|---|
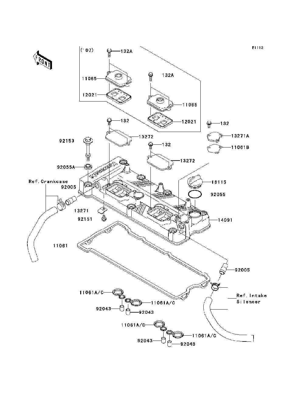
| 132 | BOLT-FLANGED-SMALL | 3 | |
| 132A | BOLT-FLANGED-SMALL6X20 | 4 | |
| 11061 | GASKETHEAD COVER | 1 | |
| 11061B | GASKETPLATE | 1 | |
| 11061C | GASKETPLUG HOLE | 4 | |
| 11065 | CAPREED VALVE | 2 | |
| 12021 | VALVE-ASSY-REED | 2 | |
| 13271 | PLATE | 1 | |
| 13271A | PLATE | 1 | |
| 14091 | COVERHEAD | 1 | |
| 16115 | CAP-OIL FILLER | 1 | |
| 92005 | FITTING | 2 | |
| 92043 | PIN10.1X12X14 | 4 | |
| 92055 | RING-O38MM | 1 | |
| 92055A | RING-OHEAD COVER BOL | 7 | |
| 92151 | BOLT6X10 | 1 | |
| 92153 | BOLTHEAD COVER | 7 |
