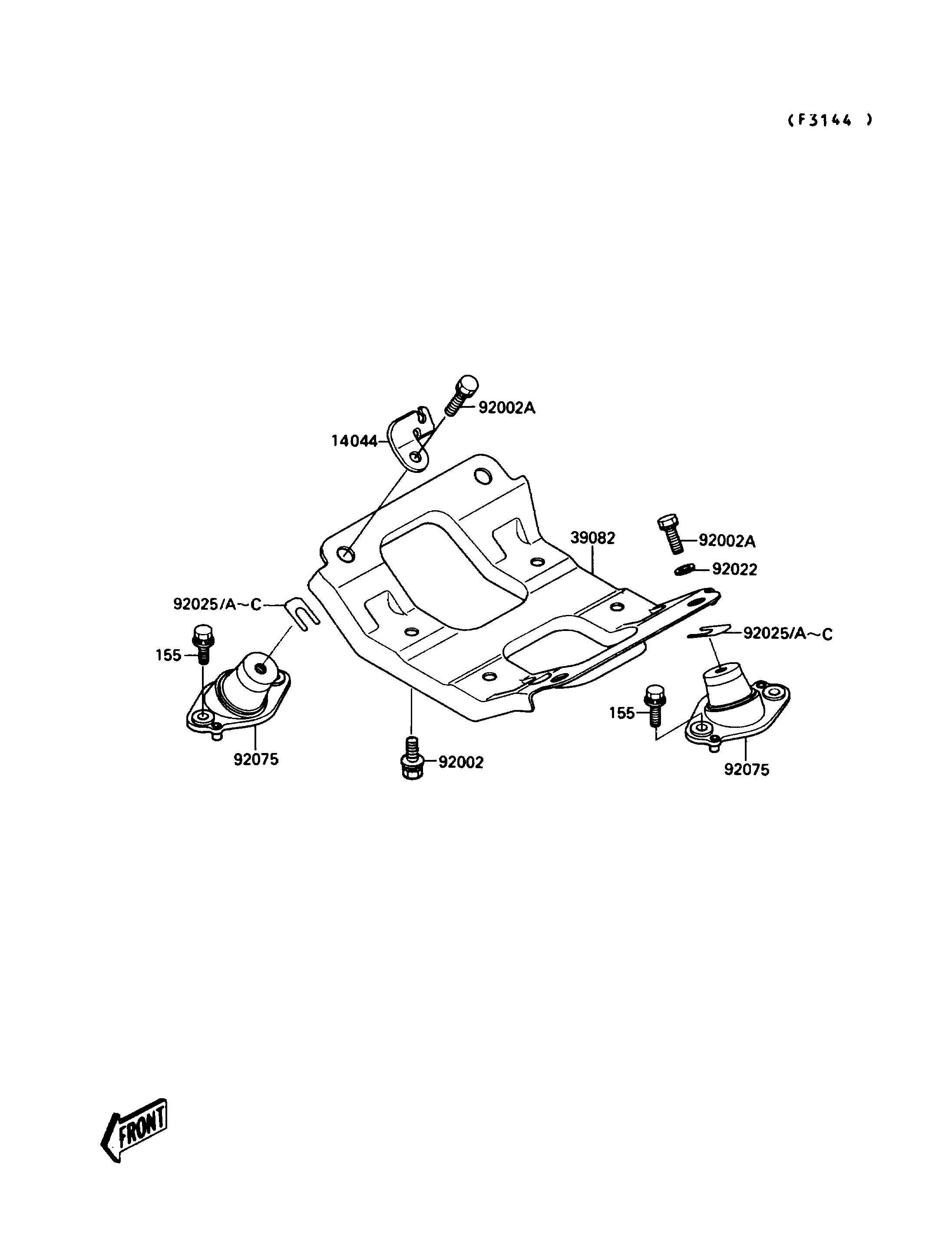
| № | Наименование | Примечание | Кол-во |
|---|---|---|---|
| 155 | BOLT-WSP-SMALL8X20 | 8 | |
| 14044 | HOLDER-CABLE | 1 | |
| 39082 | MOUNT-ENGINE | 1 | |
| 92002 | BOLT | 4 | |
| 92002A | BOLT10X25 | 4 | |
| 92022 | WASHERO32XO10.5X4T | 3 | |
| 92025 | SHIMT=0.3MM | 0 | |
| 92025A | SHIMT=0.5MM | 0 | |
| 92025B | SHIMT=1.0MM | 0 | |
| 92025C | SHIMT=1.5MM | 0 | |
| 92075 | DAMPERENGINE MOUNT | 4 |
