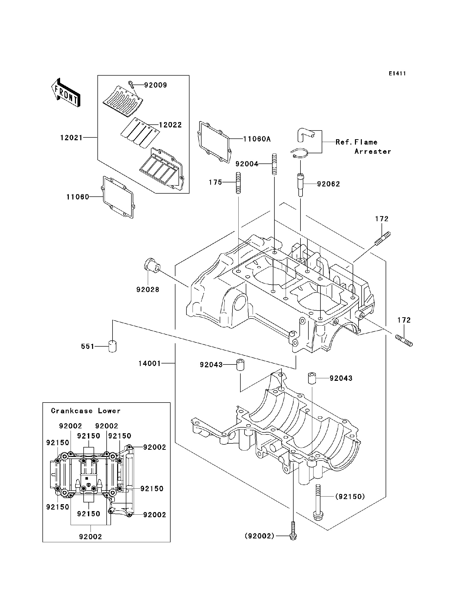
Crankcase

Корзина пуста
Наименование Примечание Кол-во
172 BOLT-STUD 14
175 BOLT-STUD-FINE 4
551 PINDOWEL 1
11060 GASKETREED VALVE 2
11060A GASKETREED VALVE 2
12021 VALVE-ASSY-REED 2
12022 VALVE-REED 4
14001 SET-CRANKCASE 1
92002 BOLT6X30 7
92004 STUDCRANK CASE 4
92009 SCREW3X6 16
92028 BUSHING 1
92043 PINDOWEL10X8.2X14 2
92062 NOZZLE 1
92150 BOLT8X65 8