Оригинальные каталоги
Масла и жидкости
Масла моторные
Масла трансмиссионные
Жидкости гидравлические
Жидкости охлаждающие
Жидкости тормозные
Масла гидравлические
Масла для вилок и амортизаторов
Масла компрессорные
Жидкости для стекол
Масла для цепей бензопил
Масла индустриальные
Масла промывочные
Раствор мочевины AdBlue
Автоэлектроника
Видеорегистраторы
Пылесосы автомобильные
FM трансмиттеры
Зарядные устройства
Разветвители, удлинители прикуривателя
Кабели
Вентиляторы автомобильные
Штекер прикуривателя
Датчик парктроника
Камеры заднего вида
Мониторы парковочные
Парктроники
Термометры
Накидки на сиденье с подогревом
Автохолодильники
Антирадары
Диагностический сканер
Аксессуары
Набор автомобилиста
Ароматизаторы
Тросы буксировочные
Канистры
Ремни крепления груза
Стяжки-резинки крепления
Сетки для крепления груза
Скотч
Влажные салфетки
Держатели телефонов, планшетов
Карты памяти
Наушники
Аккумулятор холода
Термосумки и контейнеры
Фонарики
Батарейки
Оплетки на руль
Огнетушители
Салфетки, полотенца, варежки
Инструмент
Домкраты
Компрессоры
Манометры
Насосы
Светильники переносные
Шарнирно-губцевый инструмент
Ударный инструмент
Метчики. Плашки
Заклёпочники
Заклёпки
Измерительный инструмент
Свёрла
Отвёртки
Изолента
Надфили. Напильники
Ножи, ножовки
Щётки
Абразивная бумага
Специнструмент
Ключи
Хомуты
Дрель-шуруповерт
Автохимия
Присадки
Промывки
Очистители
Смазки спрей
Смазки пластичные
Герметики
Средство для рук
Клей
Лакокрасочные материалы
Автошампуни
Полироли
Антифриз для тормозной системы
Масло для пропитки фильтров
Антикоррозионные составы
Прочее
Электрооборудование
Зарядные устройства
Инверторы
Конвертеры
Звуковые сигналы
Провода прикуривания
Предохранители
Противотуманные фары
Дневные ходовые огни
Электрика фаркопа
Шины и диски
Автошины
Грузовые шины
Мотошины
Камеры
Мотокамеры
Лента обода шины
Колпаки
Диски
Одежда и экипировка
Жилеты
Запчасти
Аккумуляторы
Лампы
Щетки стеклоочистителя
Гофры глушителя
Велотовары
Велосипеды
Самокаты
Велокамеры
Искать по VIN или номеру детали
Поиск по штрих-коду
Искать по VIN-номеру
Войти
Авторизация
Логин
Пароль
Напомнить пароль
Запомнить
Войти
Зарегистрироваться
Авторизоваться другим способом
Востановить пароль
Введите ваш email:
05- Pump
Корзина пуста
SEA-DOO
XP DI
XP DI
05- Pump
№
Наименование
Примечание
Кол-во
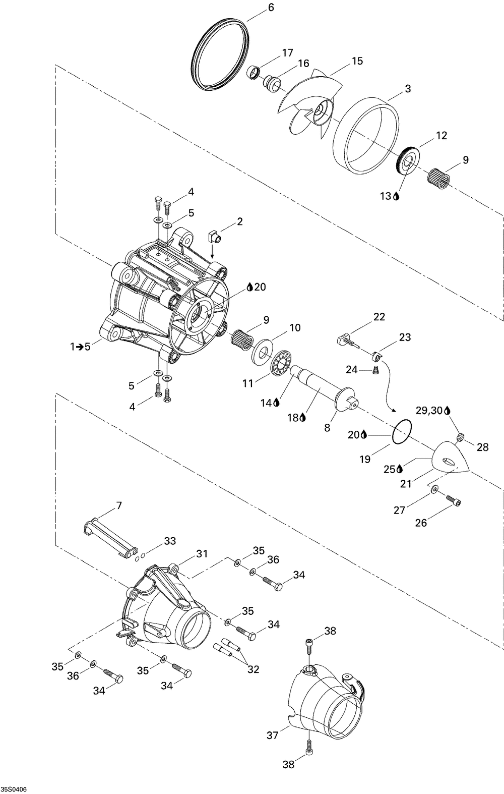
1
HOUSING ASSEMBLY Includes 1 to 5
1
2
SQUARE NUT M8 (5.000 per pack)
4
3
WEAR RING
1
4
HEX. PLASTITE SCREW tahos_10 X 3/8" (10.000 per pack)
4
5
FLAT WASHER M5 STAINLESS (10.000 per pack)
4
6
NEOPRENE SEAL
1
7
WATER OUTLET
1
8
IMPELLER SHAFT
1
9
NEEDLE BEARING
2
10
THRUST WASHER (5.000 per pack)
1
11
THRUST-BEARING
1
12
OIL SEAL
1
13
LOCTITE 518 50 ML
0
14
LOCTITE 767 ANTISEIZE LUBRICANT 8 OZ
0
15
IMPELLER ASStahos_Y
1
16
IMPELLER BOOT (2.000 per pack)
1
17
IMPELLER RING (10.000 per pack)
1
18
HUILE DE POMPE *OIL-PUMP (12.000 per pack)
0
19
O-RING (5.000 per pack)
1
20
JET PUMP BEARING GREASE 110 G (2.000 per pack)
0
21
IMPELLER COVER
1
22
POUSSOIR ASS. *PUSHER-ASS Y
1
23
SLIDER
1
24
SPRING (5.000 per pack)
1
26
SOCKET HEAD SCREW M6 X 25 SCOTCH GRIP (10.000 per pack)
3
27
Flat Washer M6, Stainless
3
28
PIPE PLUG SOCKET HEAD 1/8-27 NPT (5.000 per pack)
1
29
LOCTITE PIPE SEALANT 250 ML
0
30
(ORM-D) LOCTITE PRIMER N 128 G
0
31
VENTURI BLACK
1
32
SIPHON TUBE (10.000 per pack)
2
33
O-RING (10.000 per pack)
2
34
HEX. SCREW M8 X 50 SCOTCH GRIP (10.000 per pack)
4
35
FLAT WASHER 8 MM STAINLESS (10.000 per pack)
4
36
Lock Washer 8 mm, Stainless
2
37
NOZZLE BLACK
1
38
Socket Head Screw M8 X 10, Scotch Grip
2