Оригинальные каталоги
Масла и жидкости
Масла моторные
Масла трансмиссионные
Жидкости гидравлические
Жидкости охлаждающие
Жидкости тормозные
Масла гидравлические
Масла для вилок и амортизаторов
Масла компрессорные
Жидкости для стекол
Масла для цепей бензопил
Масла индустриальные
Масла промывочные
Раствор мочевины AdBlue
Автоэлектроника
Видеорегистраторы
Пылесосы автомобильные
FM трансмиттеры
Зарядные устройства
Разветвители, удлинители прикуривателя
Кабели
Вентиляторы автомобильные
Штекер прикуривателя
Датчик парктроника
Камеры заднего вида
Мониторы парковочные
Парктроники
Термометры
Накидки на сиденье с подогревом
Автохолодильники
Антирадары
Диагностический сканер
Аксессуары
Набор автомобилиста
Ароматизаторы
Тросы буксировочные
Канистры
Ремни крепления груза
Стяжки-резинки крепления
Сетки для крепления груза
Скотч
Влажные салфетки
Держатели телефонов, планшетов
Карты памяти
Наушники
Аккумулятор холода
Термосумки и контейнеры
Фонарики
Батарейки
Оплетки на руль
Огнетушители
Салфетки, полотенца, варежки
Инструмент
Домкраты
Компрессоры
Манометры
Насосы
Светильники переносные
Шарнирно-губцевый инструмент
Ударный инструмент
Метчики. Плашки
Заклёпочники
Заклёпки
Измерительный инструмент
Свёрла
Отвёртки
Изолента
Надфили. Напильники
Ножи, ножовки
Щётки
Абразивная бумага
Специнструмент
Ключи
Хомуты
Дрель-шуруповерт
Автохимия
Присадки
Промывки
Очистители
Смазки спрей
Смазки пластичные
Герметики
Средство для рук
Клей
Лакокрасочные материалы
Автошампуни
Полироли
Антифриз для тормозной системы
Масло для пропитки фильтров
Антикоррозионные составы
Прочее
Электрооборудование
Зарядные устройства
Инверторы
Конвертеры
Звуковые сигналы
Провода прикуривания
Предохранители
Противотуманные фары
Дневные ходовые огни
Электрика фаркопа
Шины и диски
Автошины
Грузовые шины
Мотошины
Камеры
Мотокамеры
Лента обода шины
Колпаки
Диски
Одежда и экипировка
Жилеты
Запчасти
Аккумуляторы
Лампы
Щетки стеклоочистителя
Гофры глушителя
Велотовары
Велосипеды
Самокаты
Велокамеры
Искать по VIN или номеру детали
Поиск по штрих-коду
Искать по VIN-номеру
Войти
Авторизация
Логин
Пароль
Напомнить пароль
Запомнить
Войти
Зарегистрироваться
Авторизоваться другим способом
Востановить пароль
Введите ваш email:
05- Trim
Корзина пуста
SEA-DOO
GSX RFI, 5637/5638/5652/5829
GSX RFI, 5637/5638/5652/5829
05- Trim
№
Наименование
Примечание
Кол-во
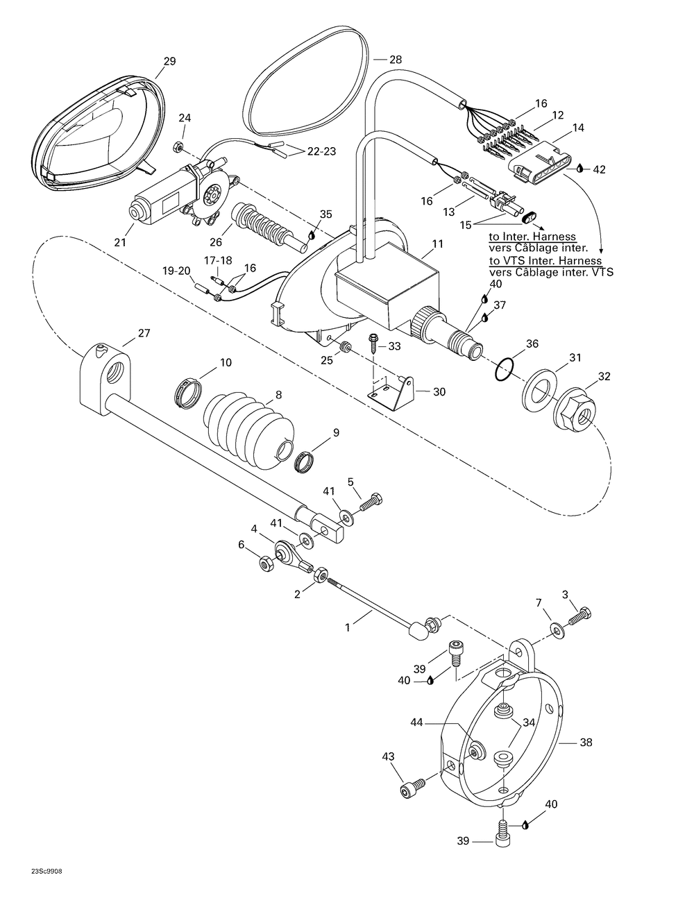
1
TIGE ENROBEE *ROD-MOULDING
1
2
HEX. NUT (5.000 per pack)
1
3
HEX. PLASTITE SCREW M5.28 X 16 (5.000 per pack)
1
4
BALL JOINT
1
5
HEX. SCREW M6 X 35 (5.000 per pack)
1
6
Hex. Elastic Stop Nut M6
1
7
Flat Washer 5 mm, Stainless
1
8
BOYAU PROTECT. *HOSE-PROTECT.
1
9
CLAMP (5.000 per pack)
1
10
CLAMP
1
11
V.T.S HOUSING Includes 11 - 20.
1
11
HEX. ELASTIC STOP NUT M6 Includes 11 - 29. (5.000 per pack)
1
12
Male Terminal
6
13
FEMALE TERMINAL (5.000 per pack)
2
14
BLOC 6 CIRC.FEM*HOUSING-TAB
1
15
MALE CONNECTOR 2 CIRCUITS
1
16
Wire Seal
10
17
Male Terminal
1
18
Insulated Sheath
1
19
FEMALE TERMINAL (5.000 per pack)
1
20
Insulated Sheath
1
21
V.T.S. MOTOR ASStahos_Y Includes 44 to 46
1
22
Insulation Sheath
1
25
GROMMET
1
26
WORM SCREW
1
27
SLIDING BLOCK ASStahos_Y
1
28
JOINT ETANCHE *GASKET
1
29
V.T.S. COVER
1
30
V.T.S. SUPPORT ASStahos_Y
1
31
SEAL WASHER
1
32
SPECIAL NUT M27 (5.000 per pack)
1
34
VENTURI BUSHING (2.000 per pack)
2
35
SYNTHETIC GREASE 400 G
0
36
O-RING Except Engine 130 (10.000 per pack)
1
37
(ORM-D) LOCTITE PRIMER N 128 G
0
38
BAGUE ASSIETTE *TRIMMING RING
1
39
SCREW-SOCKET HD. (5.000 per pack)
2
40
LOCTITE 243 10 ML
0
41
Flat Washer M6, Stainless
2
42
DIELECTRIC GREASE 150 G
0
43
SCREW (5.000 per pack)
2
44
VENTURI BUSHING (5.000 per pack)
2