| № | Наименование | Примечание | Кол-во |
|---|---|---|---|
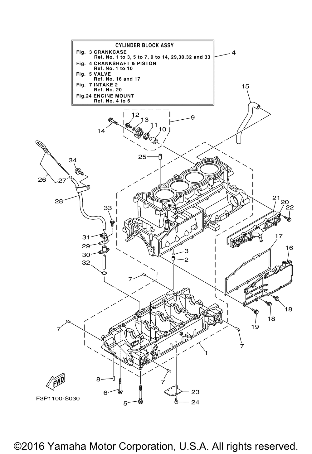
| 1 | CRANKCASE ASSY | 1 | |
| 2 | PINDOWEL | 1 | |
| 3 | O-RING | 1 | |
| 4 | CYLINDER BLOCK ASSY | 1 | |
| 5 | BOLT FLANGE | 10 | |
| 6 | BOLTFLANGE | 12 | |
| 7 | PINDOWEL (USA) (5 per pack) | 8 | |
| 8 | PINDOWEL (5 per pack) | 2 | |
| 9 | ANODE COVER ASSY | 1 | |
| 10 | ANODE | 1 | |
| 11 | GROMMET ANODE | 1 | |
| 12 | BOLTWASHER BASED | 1 | |
| 13 | GASKET (6F5) | 1 | |
| 14 | BOLT WITH WASHER | 1 | |
| 15 | HOSE | 1 | |
| 16 | COVER | 1 | |
| 17 | GASKET | 1 | |
| 18 | BOLT FLANGE (SMALL HEAD) | 2 | |
| 19 | BOLTFLANGE (SMALL HEAD) | 9 | |
| 20 | JOINT 1 | 1 | |
| 21 | GASKET WATER INLET | 1 | |
| 22 | BOLT FLANGE | 9 | |
| 23 | PLATE BAFFLE LOWER | 1 | |
| 24 | BOLT (4MY) | 1 | |
| 26 | PLUG OIL LEVEL | 1 | |
| 27 | O-RING | 1 | |
| 28 | PIPE OIL LEVEL | 1 | |
| 29 | PLATE | 1 | |
| 30 | SPACER | 1 | |
| 31 | CLIP | 1 | |
| 32 | O-RING | 1 | |
| 33 | BOLT | 2 | |
| 34 | BOLT WASHER BASED | 1 |
