| № | Наименование | Примечание | Кол-во |
|---|---|---|---|
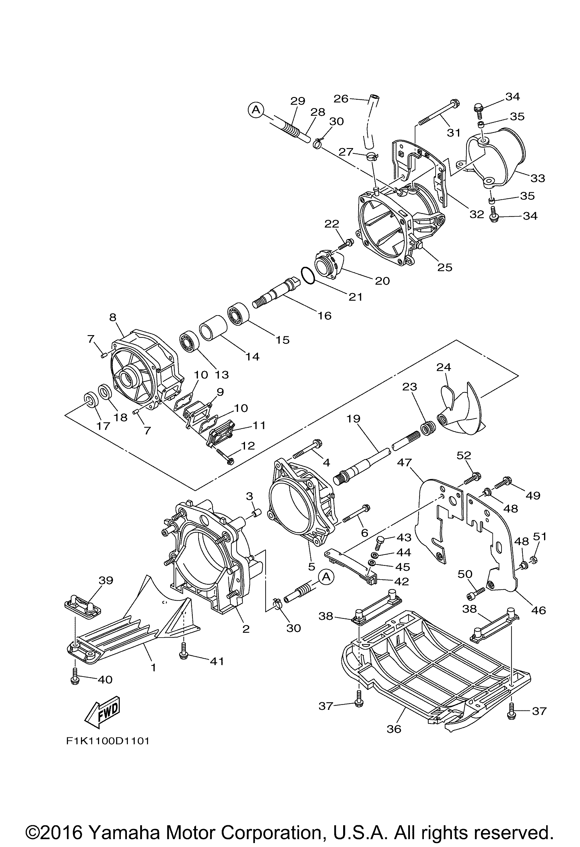
| 1 | SCREEN INTAKE | 1 | |
| 2 | PLATE TRANSOM | 1 | |
| 3 | PIN DOWEL | 2 | |
| 4 | BOLTWITH WASHER | 4 | |
| 5 | HOUSING IMPELLER | 1 | |
| 6 | BOLTWITH WASHER | 1 | |
| 7 | PINDOWEL (USA) (5 per pack) | 2 | |
| 8 | DUCT IMPELLER | 1 | |
| 9 | FILTER | 1 | |
| 10 | O-RING | 2 | |
| 11 | COVER WATER INLET | 1 | |
| 12 | BOLTWITH WASHER | 4 | |
| 13 | BEARING | 1 | |
| 14 | SPACER 1 | 1 | |
| 15 | BEARING | 1 | |
| 16 | SHAFT DRIVE 4 | 1 | |
| 17 | OIL SEAL | 1 | |
| 18 | OIL SEAL | 1 | |
| 19 | SHAFT DRIVE | 1 | |
| 20 | CAP | 1 | |
| 21 | O-RING | 1 | |
| 22 | BOLT HEXAGON SOCK | 3 | |
| 23 | CAP IMPELLER | 1 | |
| 26 | HOSE (L260) | 1 | |
| 27 | BAND HOSE (5 per pack) | 1 | |
| 28 | HOSE (L355) (L355) | 1 | |
| 29 | HOSE (L320) | 1 | |
| 30 | CLAMP | 2 | |
| 31 | BOLTWITH WASHER | 4 | |
| 32 | BRACKET 1 | 1 | |
| 33 | NOZZLEDEFLECTOR | 1 | |
| 34 | BOLTWITH WASHER | 2 | |
| 35 | COLLAR | 2 | |
| 36 | PLATE 2 KIT W/ SPAC | 1 | |
| 37 | BOLT WITH WASHER | 4 | |
| 38 | BRACKET 2 | 2 | |
| 39 | BRACKET 3 | 1 | |
| 40 | BOLTWITH WASHER | 2 | |
| 41 | BOLT WITH WASHER | 2 | |
| 42 | BRACKET | 1 | |
| 43 | BOLT | 2 | |
| 44 | WASHER | 2 | |
| 45 | GASKET | 2 | |
| 46 | PLATE RUBBER 1 | 1 | |
| 47 | PLATE RUBBER 2 | 1 | |
| 48 | COLLAR | 6 | |
| 49 | BOLT WITH WASHER | 4 | |
| 50 | BOLT | 2 | |
| 51 | NUT FLANGE | 2 | |
| 52 | BOLT WITH WASHER | 2 |
