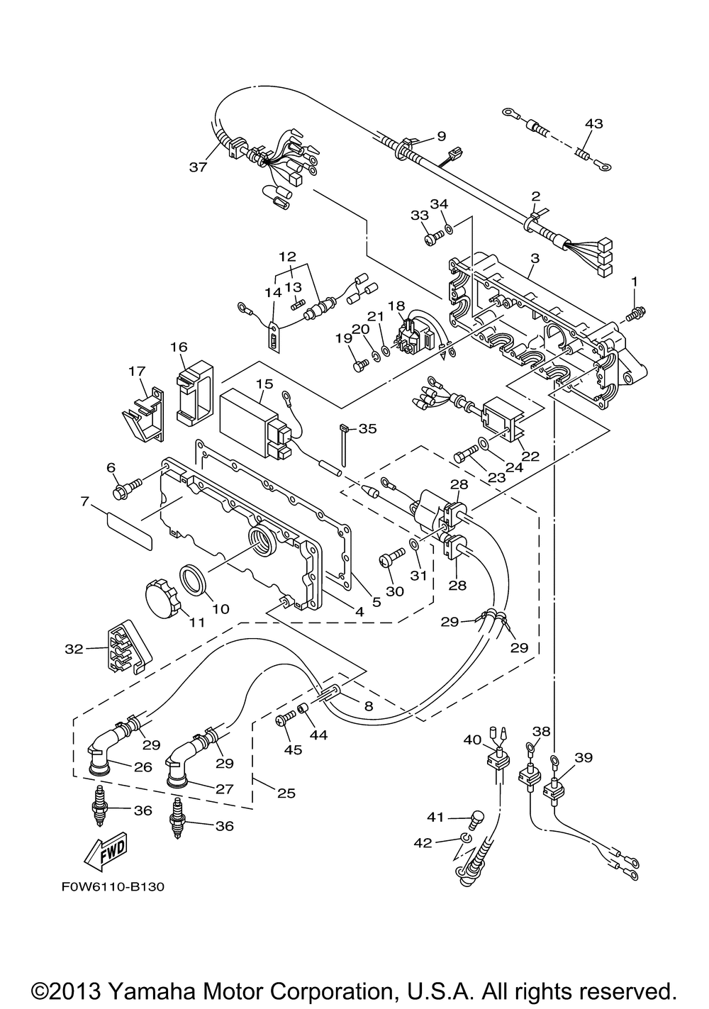
| № | Наименование | Примечание | Кол-во |
|---|---|---|---|
| 1 | BOLT WITH WASHER | 3 | |
| 2 | CLAMP (62T) | 1 | |
| 3 | HOUSING | 1 | |
| 4 | COVER CASE | 1 | |
| 5 | GASKET TERMINAL | 1 | |
| 6 | BOLT | 14 | |
| 7 | MARK 3 | 1 | |
| 8 | CLAMP (62E) | 1 | |
| 9 | CLAMP (5 per pack) | 3 | |
| 10 | GASKET | 1 | |
| 11 | CAP | 1 | |
| 12 | FUSE HOLDER ASSY | 1 | |
| 13 | FUSE (10 AMP 30 MM (10A) | 1 | |
| 14 | FUSE SPEAR (10A) | 1 | |
| 15 | C.D.I. UNIT ASSY | 1 | |
| 16 | BAND | 1 | |
| 17 | CLAMP | 1 | |
| 18 | STARTER RELAY ASSY | 1 | |
| 19 | BOLT | 2 | |
| 20 | WASHER (5 per pack) | 2 | |
| 21 | WASHER (5 per pack) | 2 | |
| 22 | RECTIFIER/REG ASY | 1 | |
| 23 | BOLT | 1 | |
| 25 | IGNITION COIL ASSY | 1 | |
| 26 | CAP PLUG | 1 | |
| 28 | GROMMET | 2 | |
| 29 | CLAMP | 4 | |
| 30 | SCREW PAN HEAD | 2 | |
| 31 | WASHER (5 per pack) | 2 | |
| 32 | CLAMP CORD | 1 | |
| 33 | SCREWPAN HEAD | 2 | |
| 36 | BR8ES NGK SCREW TOP (NGK BR8ES) (4 per pack) | 2 | |
| 37 | EXTENSION WIRE LEAD | 1 | |
| 38 | WIRELEAD | 1 | |
| 39 | WIRE LEAD | 1 | |
| 40 | THERMO SWITCH ASSY | 1 | |
| 41 | BOLT (GA1) (5 per pack) | 2 | |
| 43 | WIRELEAD | 1 | |
| 44 | COLLAR | 1 | |
| 45 | SCREWTAPPING | 1 |
