| № | Наименование | Примечание | Кол-во |
|---|---|---|---|
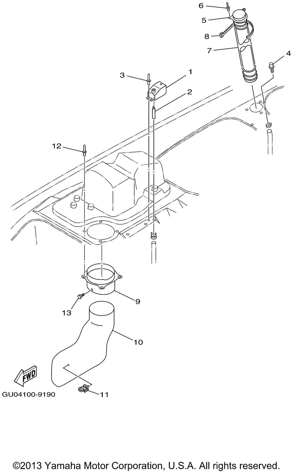
| 1 | SOCKET VENTILATION | 1 | |
| 2 | PIPE VENTILATION | 1 | |
| 3 | RIVETBLIND (5 per pack) | 2 | |
| 4 | NIPPLE | 1 | |
| 5 | VENTILATOROUTLET YMUS | 1 | |
| 7 | HOSE VENTILATOR 2 YMUS | 1 | |
| 8 | BAND YMUS | 1 | |
| 9 | BASEAIR INTAKE YMUS | 1 | |
| 10 | HOSE VENTILATOR 1 YMUS | 1 | |
| 11 | CLAMP | 1 | |
| 12 | RIVET 1 | 4 | |
| 13 | RIVET YMUS (10 per pack) | 3 |
