| № | Наименование | Примечание | Кол-во |
|---|---|---|---|
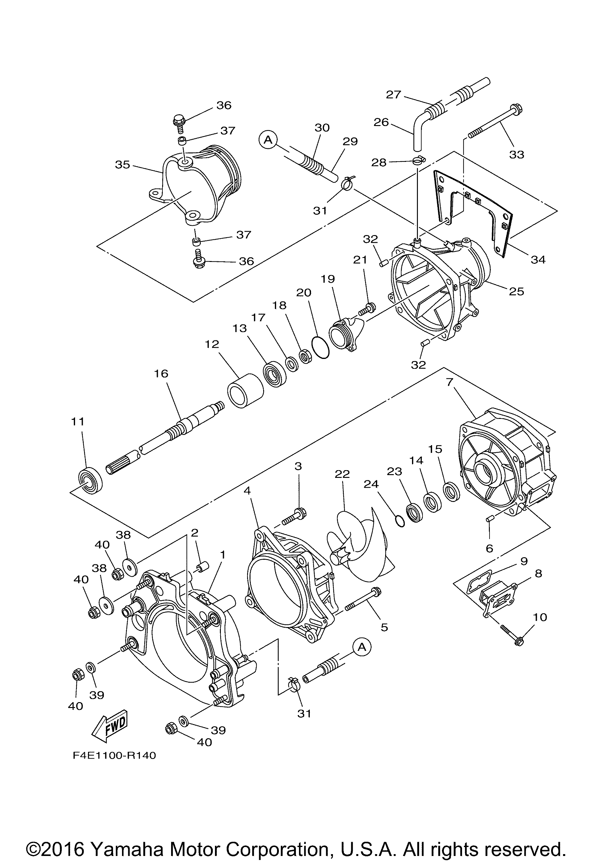
| 1 | PLATE TRANSOM | 1 | |
| 2 | PIN DOWEL | 2 | |
| 4 | HOUSING IMPELLER | 1 | |
| 5 | BOLTWITH WASHER | 1 | |
| 6 | PINDOWEL (USA) (5 per pack) | 2 | |
| 7 | DUCT IMPELLER | 1 | |
| 8 | FILTER | 1 | |
| 9 | O-RING | 1 | |
| 11 | BEARING | 1 | |
| 12 | SPACER 1 | 1 | |
| 13 | BEARING | 1 | |
| 14 | OIL SEAL | 1 | |
| 15 | OIL SEAL | 1 | |
| 16 | SHAFT DRIVE | 1 | |
| 17 | WASHER | 1 | |
| 18 | NUT | 1 | |
| 19 | CAP | 1 | |
| 20 | O-RING | 1 | |
| 21 | BOLT HEXAGON SOCK | 3 | |
| 22 | IMPELLER | 1 | |
| 23 | SPACER | 1 | |
| 24 | O-RING | 1 | |
| 25 | NOZZLE | 1 | |
| 26 | HOSE 1 | 1 | |
| 27 | TUBE | 1 | |
| 28 | BAND HOSE (5 per pack) | 1 | |
| 29 | HOSE (L355) (L355) | 1 | |
| 30 | HOSE (L320) | 1 | |
| 31 | CLAMP | 1 | |
| 34 | BRACKET 1 | 1 | |
| 35 | NOZZLE DEFLECTOR | 1 | |
| 36 | BOLTWITH WASHER | 2 | |
| 37 | COLLAR | 2 | |
| 38 | WASHER | 2 | |
| 39 | WASHERPLATE | 2 | |
| 40 | NUT FLANGE | 4 |
