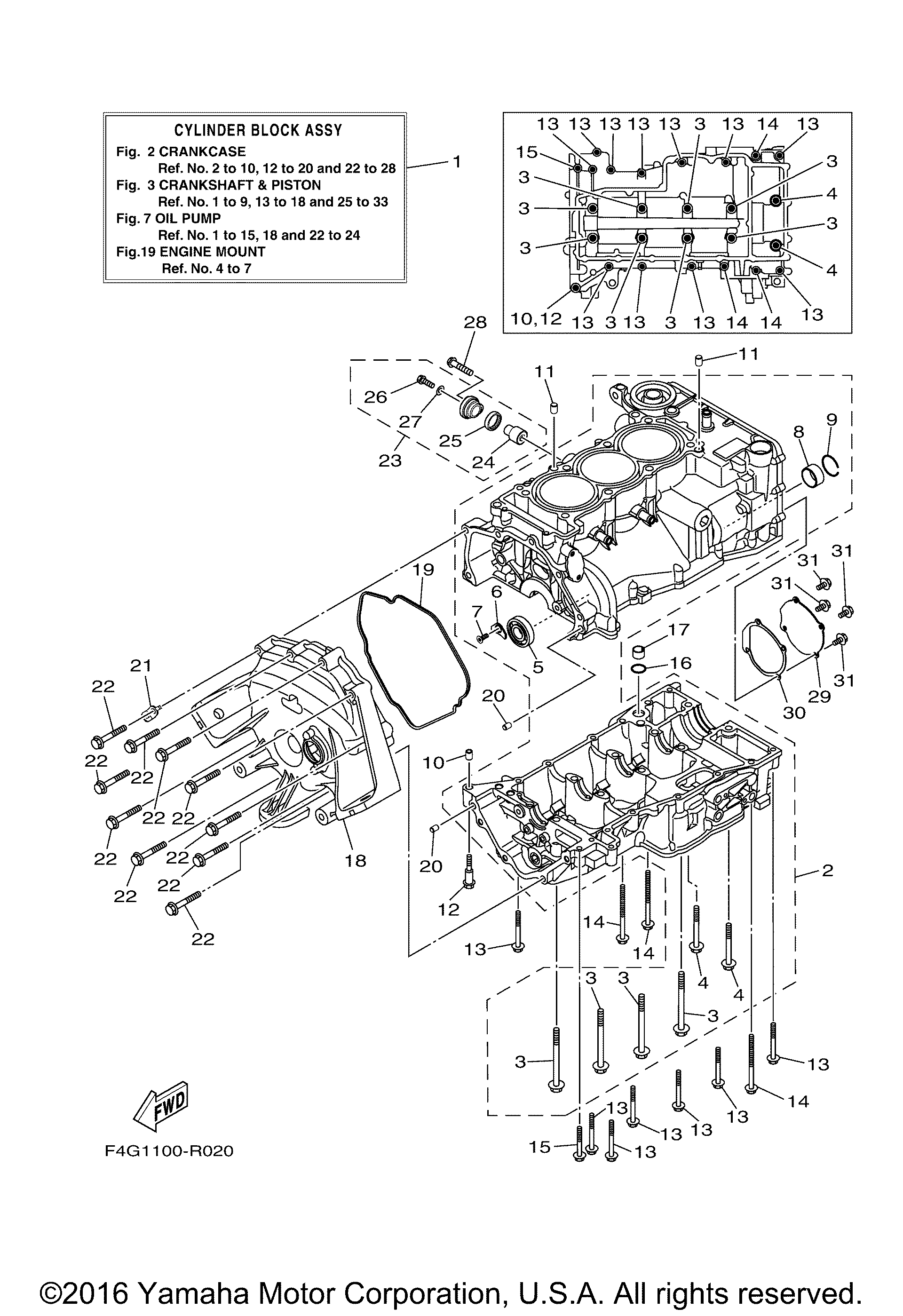
CRANKCASE

Корзина пуста