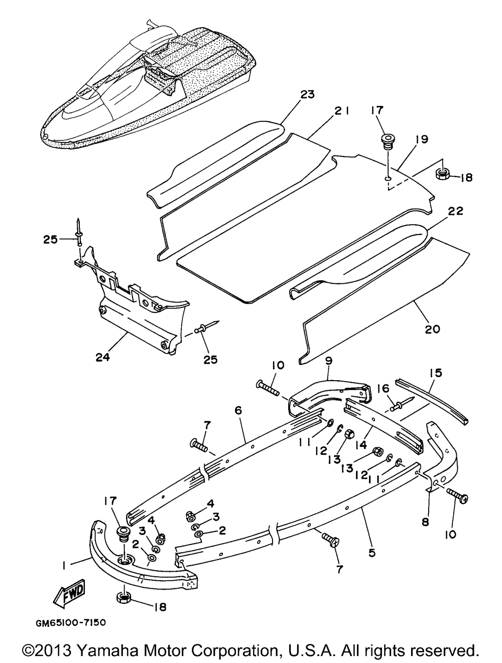
| № | Наименование | Примечание | Кол-во |
|---|---|---|---|
| 1 | BOW GUNWAE COMP. | 1 | |
| 2 | WASHER (5 per pack) | 4 | |
| 3 | WASHER (5 per pack) | 4 | |
| 4 | NUT(CROWN) | 4 | |
| 5 | GUNWALESIDE 1 | 1 | |
| 6 | GUNWALESIDE 2 | 1 | |
| 7 | SCREWSPEC'L SHAPE | 22 | |
| 8 | GUNWALE STERN 1 | 1 | |
| 9 | GUNWALE STERN 2 | 1 | |
| 10 | SCREWSPEC'L SHAPE (5 per pack) | 8 | |
| 11 | WASHER (5 per pack) | 8 | |
| 12 | WASHERSPRING (5 per pack) | 8 | |
| 13 | NUT (GM6) | 8 | |
| 14 | COVER GUNWALE 1 | 1 | |
| 15 | COVERGUNWALE 2 | 1 | |
| 16 | RIVETBLIND (5 per pack) | 4 | |
| 17 | ROPE HOLE (USA) | 2 | |
| 18 | NUT | 2 | |
| 19 | MAT LOWER BL | 1 | |
| 20 | MAT SIDE 1 BLACK | 1 | |
| 21 | MAT SIDE 2 BLACK | 1 | |
| 22 | PAD 1 | 1 | |
| 23 | PAD 2 | 1 | |
| 24 | MAT BOW | 1 | |
| 25 | RIVET BLIND | 4 |
