| № | Наименование | Примечание | Кол-во |
|---|---|---|---|
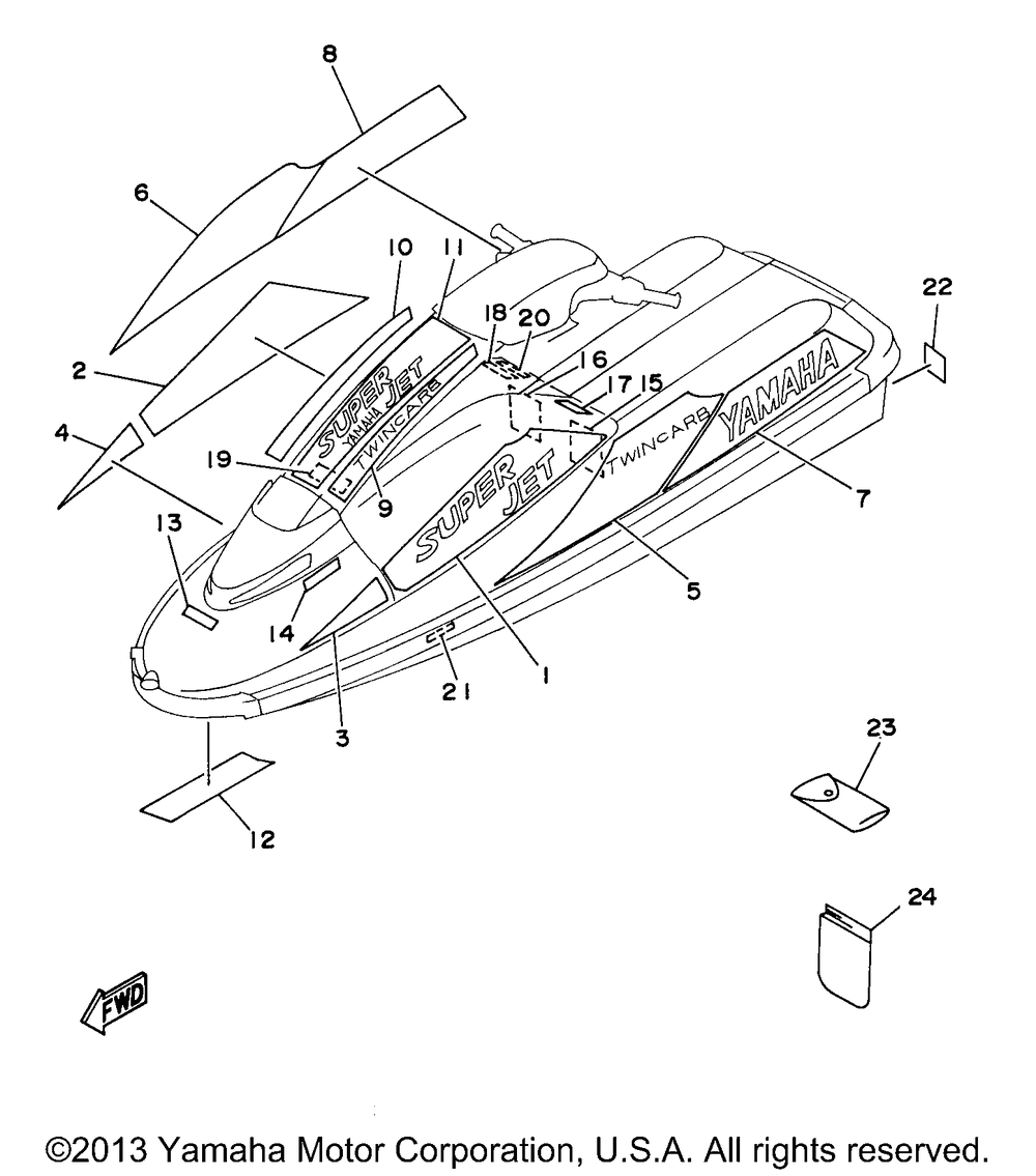
| 1 | GRAPHIC 1 | 1 | |
| 2 | GRAPHIC 1 | 1 | |
| 3 | GRAPHIC 2 | 1 | |
| 4 | GRAPHIC 2 | 1 | |
| 5 | GRAPHIC 3 | 1 | |
| 6 | GRAPHIC 3 | 1 | |
| 7 | GRAPHIC 4 | 1 | |
| 8 | GRAPHIC 4 | 1 | |
| 9 | GRAPHIC 5 | 1 | |
| 10 | GRAPHIC 5 | 1 | |
| 11 | GRAPHIC 6 | 1 | |
| 12 | MARK YAMAHA A | 1 | |
| 13 | MARK YAMAHA B | 1 | |
| 14 | LABEL WARNING | 1 | |
| 15 | LABEL WARNING 1 | 1 | |
| 16 | LABEL WARNING 2 | 1 | |
| 17 | LABELCAUTION 2 | 1 | |
| 18 | LABELCAUTION 5 | 1 | |
| 19 | LABELCAUTION (BATTERY) YMUS | 1 | |
| 20 | PLATE ASSY | 1 | |
| 21 | LABELPATENT LH INSIDE | 1 | |
| 22 | LABEL RIDING | 1 | |
| 23 | TOOL SET | 1 | |
| 24 | BAG | 1 |
