| № | Наименование | Примечание | Кол-во |
|---|---|---|---|
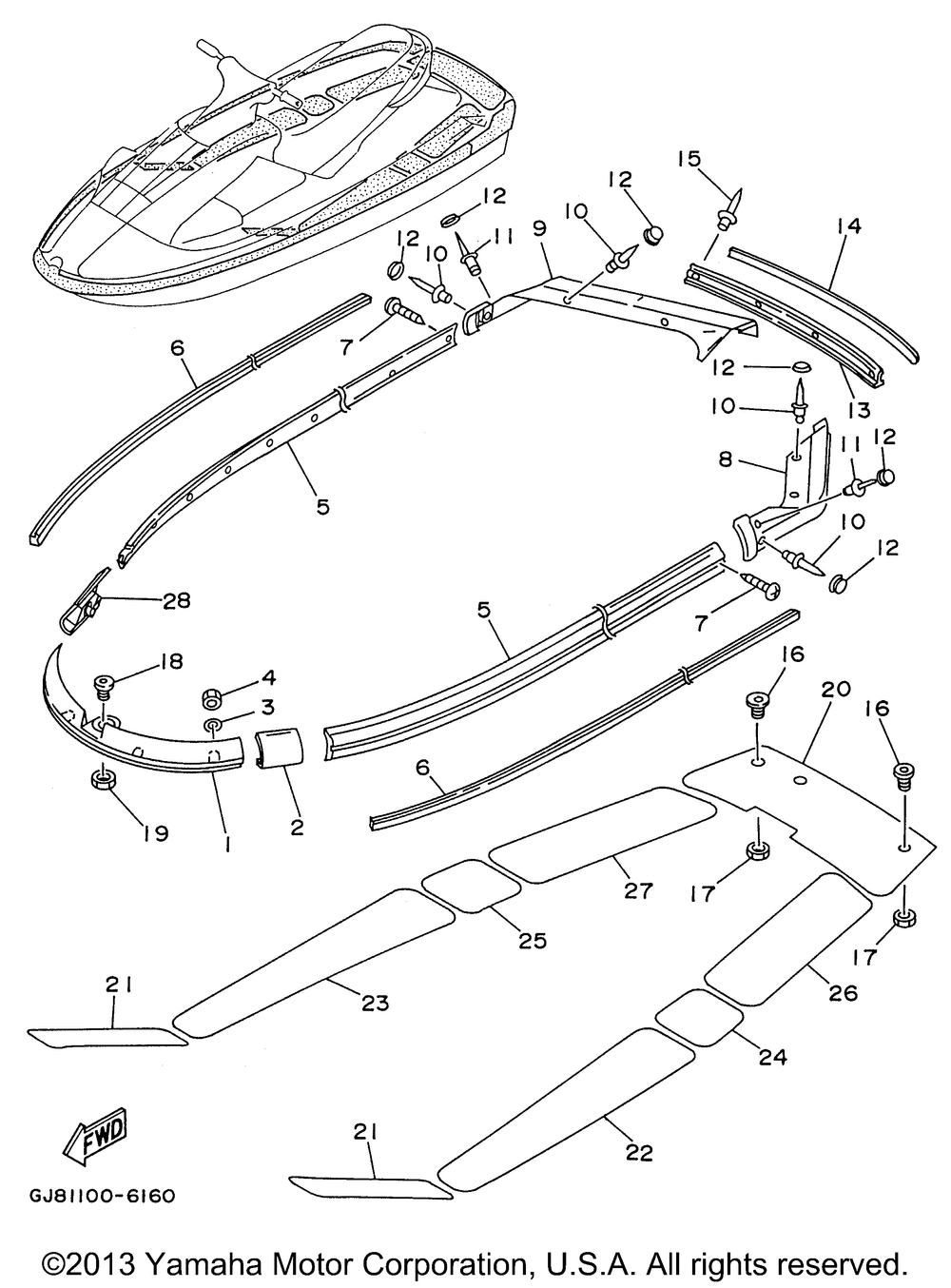
| 1 | BOW GUNWALE (VIOLET) YMUS VIOLET SOLID 6 (440) | 1 | |
| 2 | JOINT GUNWALE LH (LH) | 2 | |
| 3 | WASHER (5 per pack) | 6 | |
| 4 | NUTSELF-LOCKING | 6 | |
| 5 | GUNWALESIDE 1(viole YMUS VIOLET SOLID 6 (440) | 2 | |
| 6 | INNER GUNWALE YMUS GREENISH YELLOW SOLID 2 | 2 | |
| 7 | SCREWSELF TAPPING (10 per pack) | 22 | |
| 8 | GUNWALE STERN 1 VIOLET SOLID 6 (440) | 1 | |
| 9 | GUNWALE STERN 2 VIOLET SOLID 6 (440) | 1 | |
| 10 | RIVET BLIND (10 per pack) | 10 | |
| 11 | RIVETBLIND YMUS | 2 | |
| 12 | CAP HEAD | 12 | |
| 13 | COVERGUNWALE 1 YMUS VIOLET SOLID 6 (440) | 1 | |
| 14 | COVERGUNWALE 2 YMUS GREENISH YELLOW SOLID 2 | 1 | |
| 16 | ROPE HOLE (USA) | 2 | |
| 17 | NUT | 2 | |
| 18 | ROPE HOLE (USA) | 1 | |
| 20 | MAT UPPER | 1 | |
| 21 | MATSTEP 1 YMUS | 2 | |
| 22 | MATSTEP 3 YMYS | 1 | |
| 23 | MATSTEP 4 YMUS | 1 | |
| 24 | MATSTEP 5 YMUS | 1 | |
| 25 | MATSTEP 6 YMUS | 1 | |
| 26 | MAT STEP 7 | 1 | |
| 27 | MAT STEP 8 | 1 | |
| 28 | JOINT GUNWALE RH (RH) | 1 |
