| № | Наименование | Примечание | Кол-во |
|---|---|---|---|
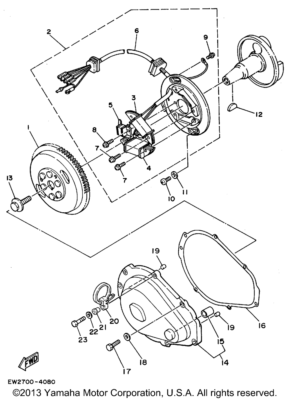
| 1 | ROTOR ASY | 1 | |
| 2 | BASE ASSY | 1 | |
| 3 | COILCHARGE | 1 | |
| 4 | COILLIGHTING | 1 | |
| 5 | COILPULSER | 1 | |
| 6 | LEAD WIRE ASY | 1 | |
| 7 | SCREW WITH WASHER | 4 | |
| 8 | SCREW WITH WASHER | 2 | |
| 9 | SCREWPAN HEAD | 1 | |
| 10 | SCREWPAN HEAD | 2 | |
| 11 | WASHER (5 per pack) | 2 | |
| 12 | KEY WOODRUFF | 1 | |
| 13 | BOLT | 1 | |
| 14 | COVERFLYWHEEL | 1 | |
| 15 | BUSHSOLID | 1 | |
| 16 | GASKETHOLE COVER | 1 | |
| 17 | BOLT | 6 | |
| 19 | PINDOWEL (USA) (5 per pack) | 2 | |
| 20 | CLAMP (62E) | 1 | |
| 21 | COLLAR | 1 | |
| 23 | BOLT | 1 |
