| № | Наименование | Примечание | Кол-во |
|---|---|---|---|
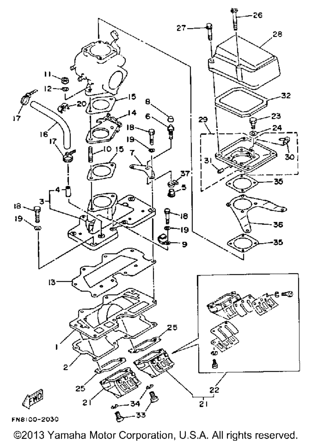
| 1 | MANIFOLD 1 | 1 | |
| 2 | GASKET | 1 | |
| 3 | MANIFOLDINTAKE | 1 | |
| 4 | PIPEJOINT | 1 | |
| 5 | BUSHSPEC'L NYLON | 1 | |
| 6 | GREASE NIPPLE | 1 | |
| 7 | PLATE | 1 | |
| 8 | CAPGREASE NIPPLE | 1 | |
| 9 | CLAMP | 1 | |
| 10 | BOLTSTUD | 2 | |
| 11 | NUT HEX. | 2 | |
| 12 | WASHER (5 per pack) | 2 | |
| 13 | GASKET | 1 | |
| 14 | PLATE | 1 | |
| 15 | GASKETMANIFOLD | 2 | |
| 16 | HOSE (L205) | 1 | |
| 17 | CLAMP | 2 | |
| 18 | BOLT(3RV) | 8 | |
| 19 | WASHER (5 per pack) | 8 | |
| 20 | CLAMP | 2 | |
| 21 | REED VALVE ASSY | 2 | |
| 22 | REED SET | 1 | |
| 23 | BOLT(7U8) (5 per pack) | 4 | |
| 25 | GASKETVALVE SEAT | 2 | |
| 26 | BOLT WITH WASHER | 2 | |
| 27 | BOLTWASHER BASED | 2 | |
| 28 | COVERCARBURETOR | 1 | |
| 29 | COVER CARB.2 | 1 | |
| 30 | NIPPLE HOSE | 1 | |
| 31 | PIPEJOINT | 1 | |
| 32 | ELEMENTAIR CLNR | 1 | |
| 33 | . . ELECTRONIC SIREN ASS'Y | 4 | |
| 34 | WASHER (5 per pack) | 4 | |
| 35 | GSKAIR COOL COV.1 | 2 | |
| 36 | PLATE | 1 | |
| 37 | CLAMP HOSE | 1 |
