| № | Наименование | Примечание | Кол-во |
|---|---|---|---|
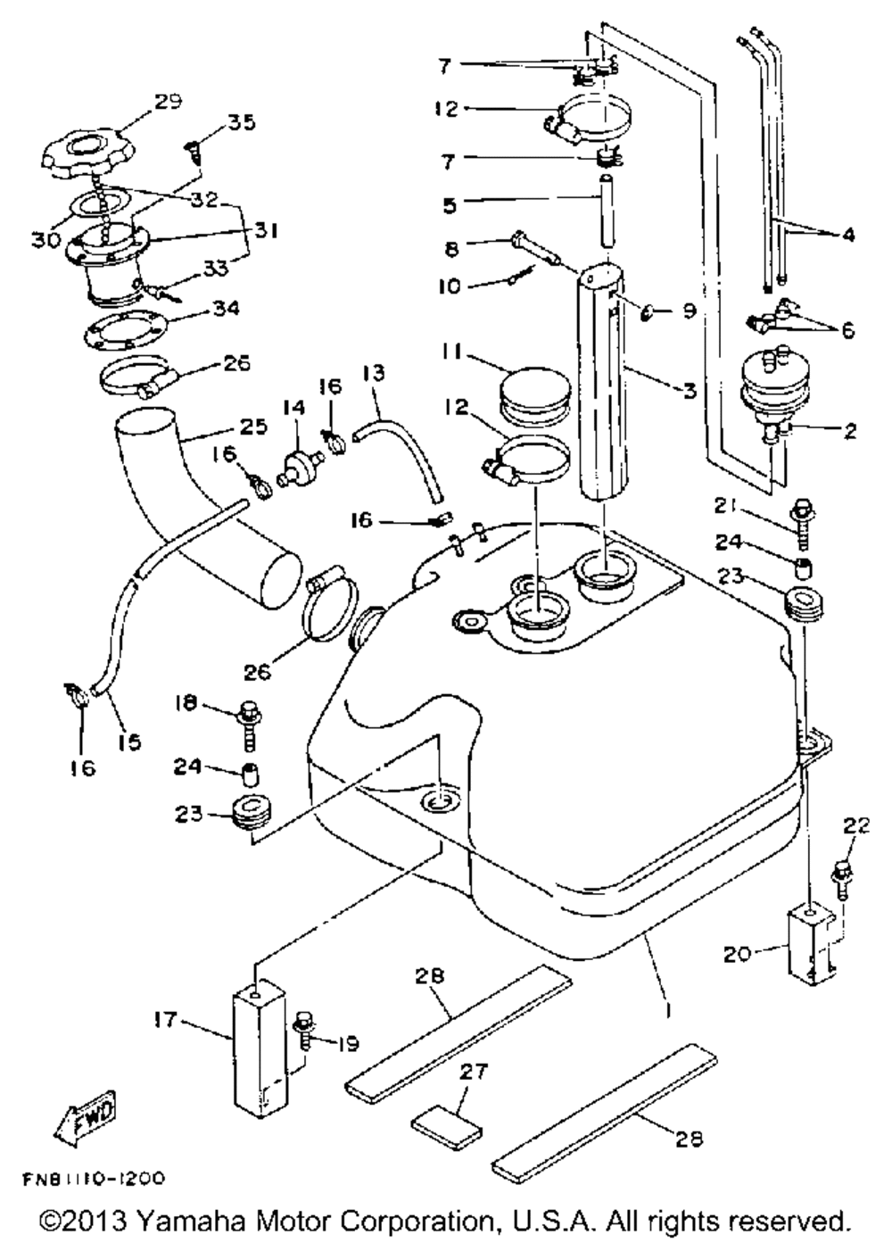
| 1 | TANK FUEL | 1 | |
| 2 | PIPE JOINT | 1 | |
| 3 | SLEEVE 1 | 1 | |
| 4 | PIPE SUCTION 3 | 2 | |
| 5 | HOSE | 1 | |
| 6 | BAND HOSE 50 | 2 | |
| 7 | CLIPSCISSOR | 3 | |
| 8 | PINCLEVIS | 1 | |
| 9 | WASHER (5 per pack) | 1 | |
| 10 | PINCOTTER | 1 | |
| 11 | COVER | 1 | |
| 12 | BANDHOSE 62 | 2 | |
| 13 | HOSEAIR VENT 1 | 1 | |
| 14 | CHECK VALVE | 1 | |
| 15 | HOSEAIR VENT 2 | 1 | |
| 16 | CLAMP | 4 | |
| 17 | FIX FUEL TANK | 1 | |
| 18 | BOLTWITH WASHER | 1 | |
| 19 | BOLT W/WASHER | 1 | |
| 20 | FIX FUEL TANK | 2 | |
| 23 | GROMMET | 3 | |
| 24 | COLLAR | 3 | |
| 25 | HOSE YMUS | 1 | |
| 26 | BAND HOSE 55 | 2 | |
| 27 | MAT YMUS | 1 | |
| 28 | MAT YMUS | 2 | |
| 29 | CAPFUEL FILLER | 1 | |
| 30 | PACKING | 1 | |
| 31 | SOCKET ASSY | 1 | |
| 32 | CHAIN BALL | 1 | |
| 33 | RIVET BLIND F/H (5 per pack) | 1 | |
| 34 | PACKINGFUEL FILLR | 1 | |
| 35 | SCREW F/H TAPPING | 6 |
