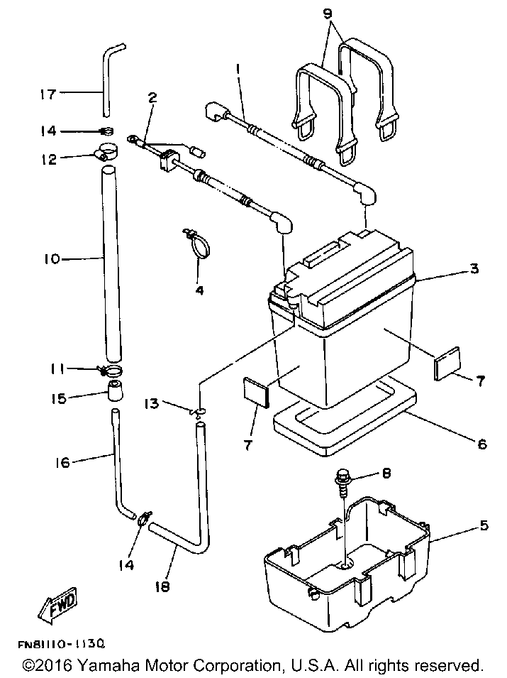
| № | Наименование | Примечание | Кол-во |
|---|---|---|---|
| 1 | WIRELEAD | 1 | |
| 2 | WIRELEAD | 1 | |
| 4 | BAND | 3 | |
| 5 | CASE BATTERY | 1 | |
| 6 | PAD BATTERY YMUS | 1 | |
| 7 | PAD BATTERY | 4 | |
| 8 | BOLTWITH WASHER (5 per pack) | 4 | |
| 9 | BAND BATTERY | 2 | |
| 10 | HOSE | 1 | |
| 11 | BAND HOSE 50 (5 per pack) | 1 | |
| 13 | CLIPSCISSOR | 1 | |
| 14 | CLAMP | 2 | |
| 15 | CAP | 1 | |
| 16 | ELBOWVENTILATER | 1 | |
| 17 | ELBOW VENT. | 1 | |
| 18 | HOSE AIR VENT 5 | 1 |
