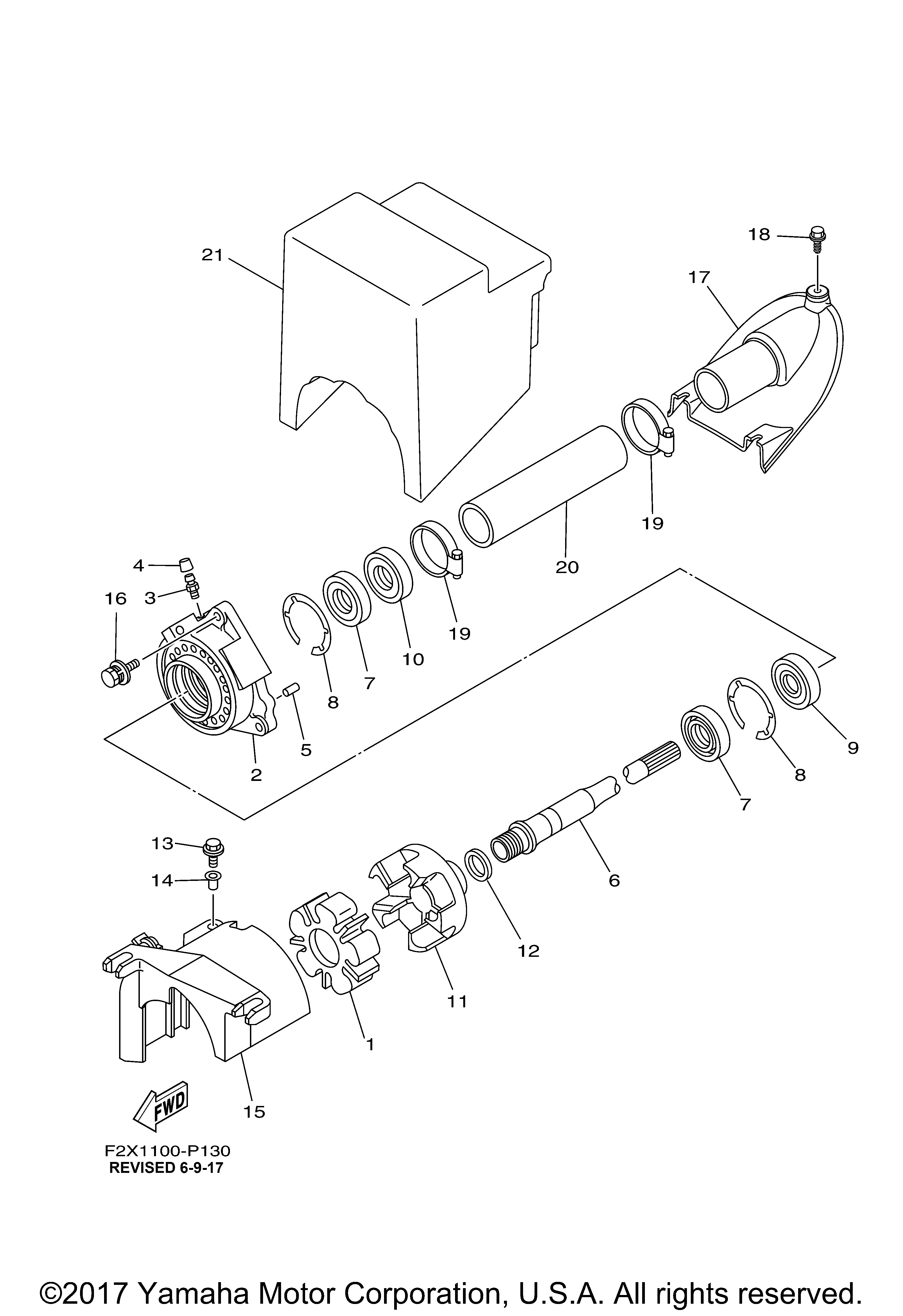
| № | Наименование | Примечание | Кол-во |
|---|---|---|---|
| 1 | RUBBER SHAFT COUPLIN | 1 | |
| 2 | HOUSINGBEARING | 1 | |
| 3 | NIPPLEGREASE | 1 | |
| 4 | CAPGREASE NIPPLE | 1 | |
| 5 | PINDOWEL (USA) (5 per pack) | 2 | |
| 6 | SHAFT DRIVE | 1 | |
| 7 | OIL SEALS-TYPE | 2 | |
| 8 | CIRCLIP | 2 | |
| 9 | BEARING | 1 | |
| 10 | OIL SEAL | 1 | |
| 11 | FLANGE COUPLING 1 | 1 | |
| 12 | WASHER PLATE | 1 | |
| 13 | BOLTWITH WASHER | 1 | |
| 14 | COLLAR | 1 | |
| 15 | COVER | 1 | |
| 16 | BOLT WITH WASHER | 3 | |
| 17 | JOINT PIPE | 1 | |
| 18 | BOLT | 3 | |
| 19 | BAND HOSE 55 | 2 | |
| 20 | PIPE 1 | 1 | |
| 21 | PAD | 1 |
