| № | Наименование | Примечание | Кол-во |
|---|---|---|---|
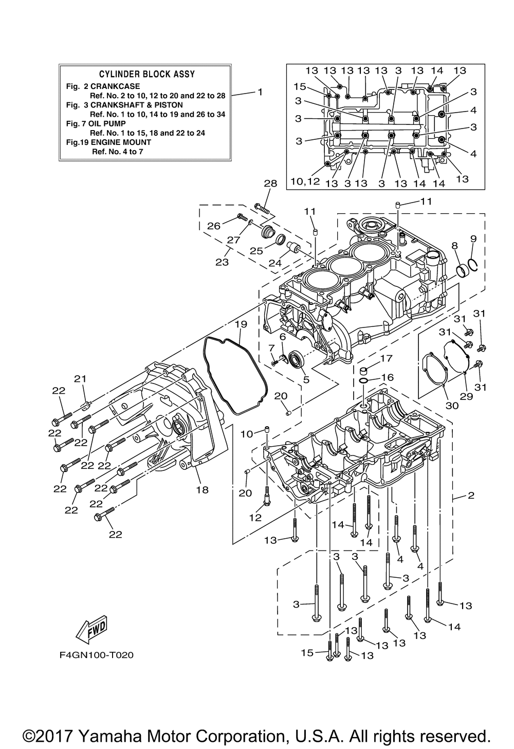
| 1 | CYLINDER BLOCK ASSY | 1 | |
| 2 | CRANKCASE ASSY | 1 | |
| 3 | BOLT WITH WASHER | 8 | |
| 4 | BOLT FLANGE (JN5) | 2 | |
| 5 | BEARING | 1 | |
| 6 | PLATE BEARING COV | 1 | |
| 7 | Винт плоский под звездочку | 1 | |
| 8 | BEARING 1 | 1 | |
| 9 | CIRCLIP | 1 | |
| 10 | PINDOWEL | 1 | |
| 12 | BOLT | 1 | |
| 13 | BOLT FLANGE | 11 | |
| 14 | BOLT FLANGE | 3 | |
| 15 | BOLT FLANGE | 1 | |
| 16 | O-RING | 1 | |
| 17 | PIPE | 1 | |
| 18 | COVER CRANKCASE 2 | 1 | |
| 19 | GASKET CRANKCASE CO | 1 | |
| 20 | PIN DOWEL | 2 | |
| 21 | BRACKET | 1 | |
| 22 | BOLT WITH WASHER | 10 | |
| 23 | ANODE COVER ASSY | 1 | |
| 24 | ANODE | 1 | |
| 25 | GROMMET ANODE | 1 | |
| 26 | BOLTWASHER BASED | 1 | |
| 27 | GASKET (6F5) | 1 | |
| 28 | BOLT WITH WASHER | 1 | |
| 29 | PLATE | 1 | |
| 30 | GASKET 2 | 1 | |
| 31 | BOLT FLANGE | 4 |
