| № | Наименование | Примечание | Кол-во |
|---|---|---|---|
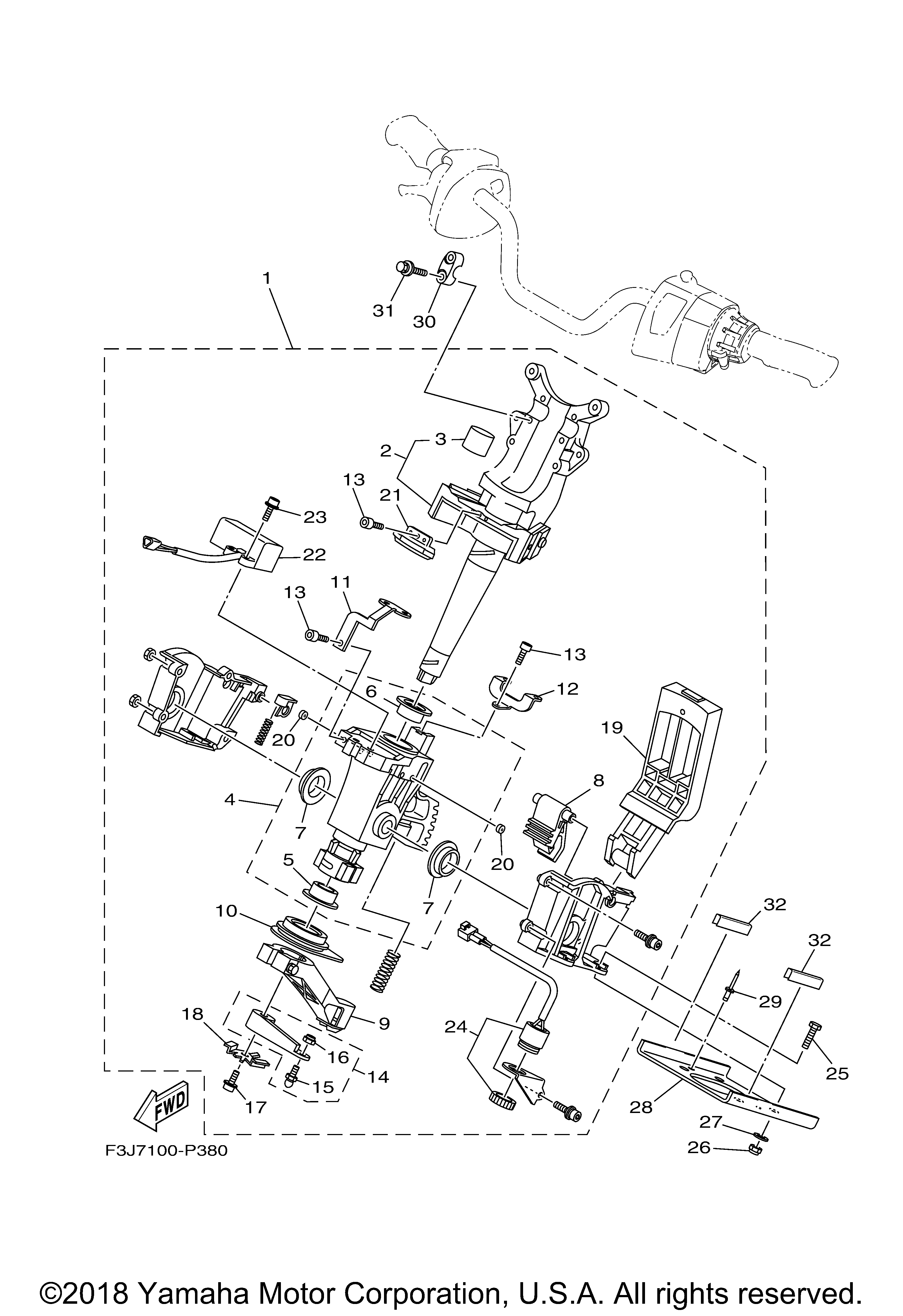
| 1 | STEERING MASTER AS | 1 | |
| 2 | SHAFT ASSY | 1 | |
| 3 | SEAL PIPE 30 | 1 | |
| 4 | TUBE | 1 | |
| 5 | BUSH | 1 | |
| 6 | BUSH | 1 | |
| 7 | BUSH | 2 | |
| 8 | LOCK 1 | 1 | |
| 9 | CABLE STOPPER ASSY. | 1 | |
| 10 | SEAL RUBBER | 1 | |
| 11 | STAY 1 | 1 | |
| 12 | STAY 2 | 1 | |
| 14 | ARM ASSY. | 1 | |
| 15 | STUD JOINT BALL | 1 | |
| 16 | NUTSELF-LOCKING | 1 | |
| 18 | PLATE RETAINING | 1 | |
| 19 | LEVER ASSY | 1 | |
| 20 | PLUG | 4 | |
| 21 | MAGNET | 1 | |
| 22 | SENSOR MAGNET | 1 | |
| 24 | BUZZER | 1 | |
| 25 | BOLT | 4 | |
| 26 | NUT LOCK | 4 | |
| 27 | WASHER | 4 | |
| 28 | PLATE RETAINING | 1 | |
| 29 | RIVET BLIND | 2 | |
| 30 | HOLDER HANDLE UPPER | 2 | |
| 31 | BOLTWITH WASHER | 4 | |
| 32 | TRIM | 2 |
