Оригинальные каталоги
Масла и жидкости
Масла моторные
Масла трансмиссионные
Жидкости гидравлические
Жидкости охлаждающие
Жидкости тормозные
Масла гидравлические
Масла для вилок и амортизаторов
Масла компрессорные
Жидкости для стекол
Масла для цепей бензопил
Масла индустриальные
Масла промывочные
Раствор мочевины AdBlue
Автоэлектроника
Видеорегистраторы
Пылесосы автомобильные
FM трансмиттеры
Зарядные устройства
Разветвители, удлинители прикуривателя
Кабели
Вентиляторы автомобильные
Штекер прикуривателя
Датчик парктроника
Камеры заднего вида
Мониторы парковочные
Парктроники
Термометры
Накидки на сиденье с подогревом
Автохолодильники
Антирадары
Диагностический сканер
Аксессуары
Набор автомобилиста
Ароматизаторы
Тросы буксировочные
Канистры
Ремни крепления груза
Стяжки-резинки крепления
Сетки для крепления груза
Скотч
Влажные салфетки
Держатели телефонов, планшетов
Карты памяти
Наушники
Аккумулятор холода
Термосумки и контейнеры
Фонарики
Батарейки
Оплетки на руль
Огнетушители
Салфетки, полотенца, варежки
Инструмент
Домкраты
Компрессоры
Манометры
Насосы
Светильники переносные
Шарнирно-губцевый инструмент
Ударный инструмент
Метчики. Плашки
Заклёпочники
Заклёпки
Измерительный инструмент
Свёрла
Отвёртки
Изолента
Надфили. Напильники
Ножи, ножовки
Щётки
Абразивная бумага
Специнструмент
Ключи
Хомуты
Дрель-шуруповерт
Автохимия
Присадки
Промывки
Очистители
Смазки спрей
Смазки пластичные
Герметики
Средство для рук
Клей
Лакокрасочные материалы
Автошампуни
Полироли
Антифриз для тормозной системы
Масло для пропитки фильтров
Антикоррозионные составы
Прочее
Электрооборудование
Зарядные устройства
Инверторы
Конвертеры
Звуковые сигналы
Провода прикуривания
Предохранители
Противотуманные фары
Дневные ходовые огни
Электрика фаркопа
Шины и диски
Автошины
Грузовые шины
Мотошины
Камеры
Мотокамеры
Лента обода шины
Колпаки
Диски
Одежда и экипировка
Жилеты
Запчасти
Аккумуляторы
Лампы
Щетки стеклоочистителя
Гофры глушителя
Велотовары
Велосипеды
Самокаты
Велокамеры
Искать по VIN или номеру детали
Поиск по штрих-коду
Искать по VIN-номеру
Войти
Авторизация
Логин
Пароль
Напомнить пароль
Запомнить
Войти
Зарегистрироваться
Авторизоваться другим способом
Востановить пароль
Введите ваш email:
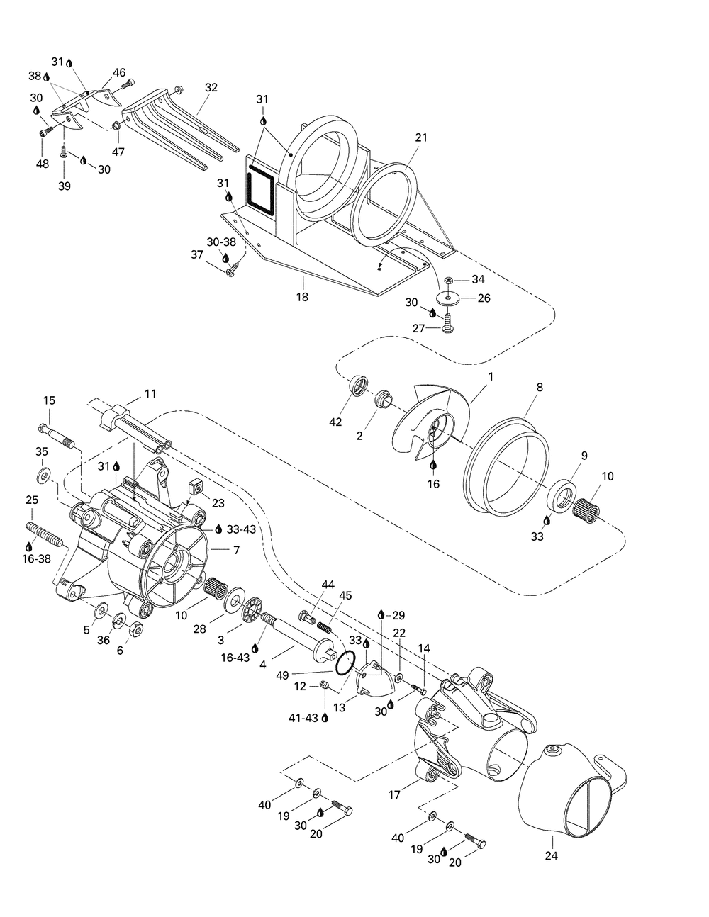
05- Propulsion System
Корзина пуста
SEA-DOO
Challenger, 5603/5606
Challenger, 5603/5606
05- Propulsion System
№
Наименование
Примечание
Кол-во
1
HELICE STLSS *IMPELLER-STLSS
1
2
IMPELLER BOOT (2.000 per pack)
1
3
PALIER A BUTEE *THRUST-BEARING
1
4
ARBRE HELICE *SHAFT-IMPELLER
1
5
FLAT WASHER 10 MM STAINLESS (5.000 per pack)
4
6
HEX. NUT M10 (5.000 per pack)
4
7
CARTER HELICE *IMPELLER HOUS. (Including 354827)
1
8
BAGUE D USURE *WEAR RING
1
9
OIL SEAL
1
10
NEEDLE BEARING
2
11
SORTIE D EAU *OUTLET-WATER
1
12
PIPE PLUG SOCKET HEAD 1/8-27 NPT (5.000 per pack)
1
13
COUVERCLE TURB.*COVER-IMPELLER
1
14
HEX. SCREW M5 X 20 (5.000 per pack)
3
15
RACCORD POMPE *FITTING-PUMP
1
16
LOCTITE 271 10 ML
0
17
VENTURI ASS. *VENTURI-ASSY.
1
18
SABOT NOIR *SHOE-BLACK
1
19
WASHER-LOCK HELICAL DIN.127B-A2 (10.000 per pack)
4
20
SCREW-HEX.CAP DIN.931A2 (5.000 per pack)
4
21
ANNEAU NEOPRENE*NEOPRENE SEAL GTS 5818. (5.000 per pack)
1
22
FLAT WASHER M5 STAINLESS (10.000 per pack)
3
23
LOGEMENT ECROU *HOUSING-NUT (5.000 per pack)
4
24
BUSE DIREC.NOIR*NOZZLE-BLACK
1
25
STUD-M10 (4.000 per pack)
4
26
ANODE DE ZINC *ANODE-ZINC (5.000 per pack)
1
27
SCREW-CTSK.OV.HD.PH.1/4-20X5/8
1
28
THRUST WASHER (5.000 per pack)
1
29
HUILE DE POMPE *OIL-PUMP (12.000 per pack)
0
30
LOCTITE 243 10 ML
0
31
INSTANT GASKET 40479 (ORM-D)
0
32
GRILLE MOBILE *GRATE-MOBIL
1
33
LOCTITE 518 50 ML
0
34
HEX. NUT 1/4" (5.000 per pack)
1
35
SHIM 0.9 MM
0
36
HELICOIDAL LOCK WASHER M10 (5.000 per pack)
4
37
PHILLIPS SCREW M6 X 40 (5.000 per pack)
6
38
SILICONE SEALANT 51388 300 ML
0
39
PHILLIPS SCREW M6 X 25 (5.000 per pack)
2
40
FLAT WASHER 8 MM STAINLESS (10.000 per pack)
4
41
LOCTITE 592 PIPE SEALANT 50 ML Package T
0
42
IMPELLER RING (10.000 per pack)
1
43
(ORM-D) LOCTITE PRIMER N 128 G
0
44
POUSSOIR *PUSHER
1
45
RESSORT *SPRING (4.000 per pack)
1
46
GRATE SUPPORT
1
47
PLASTIC BUSHING
2
48
SOCKET SCREW M6 X 8 (2.000 per pack)
2
49
O-RING (5.000 per pack)
1