| № | Наименование | Примечание | Кол-во |
|---|---|---|---|
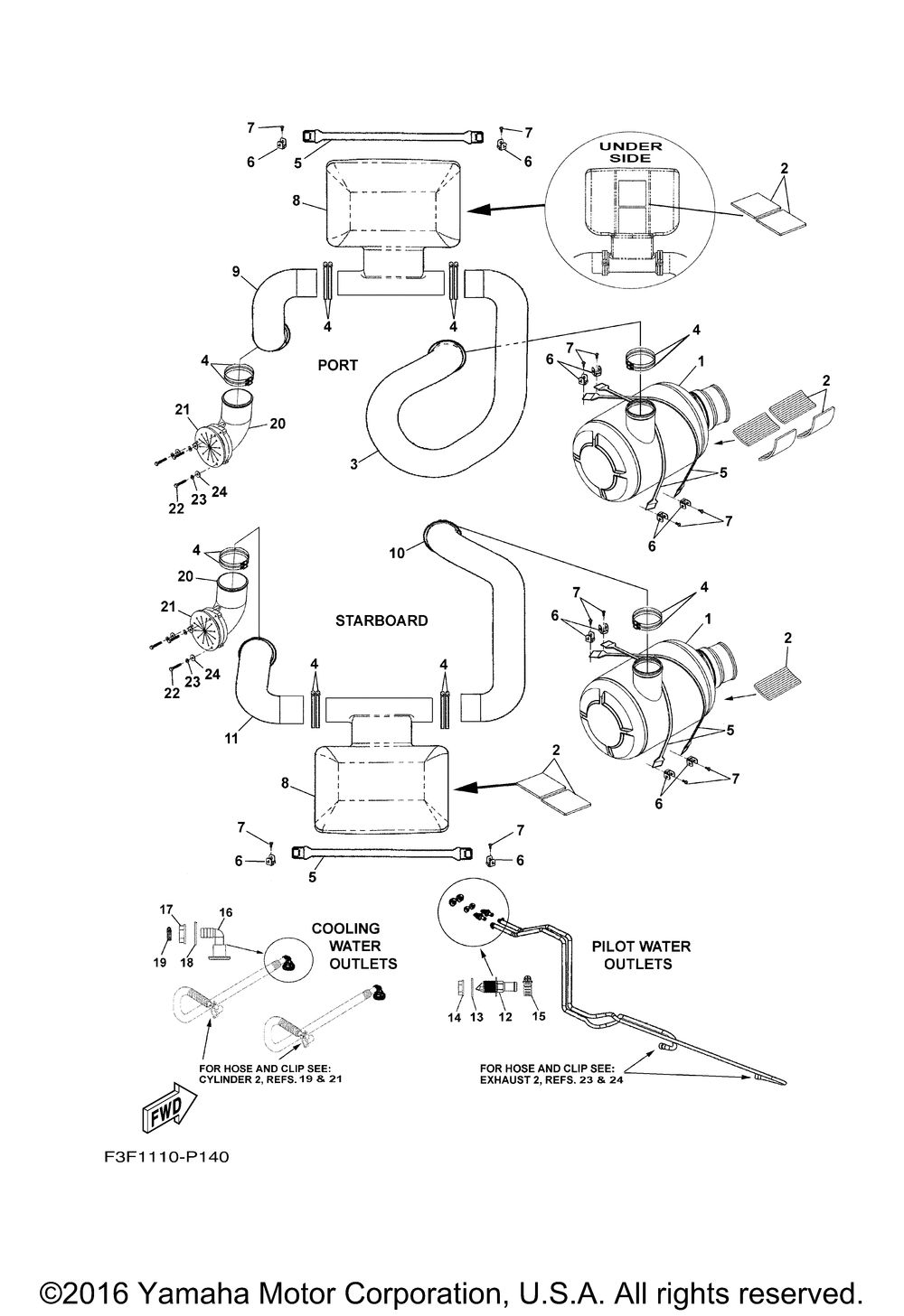
| 1 | WATER LOCK COMP. | 2 | |
| 2 | MAT WATER LOCK YMUS | 9 | |
| 3 | HOSEEXHAUST 1 | 1 | |
| 4 | BAND HOSE 95 | 16 | |
| 5 | BAND | 6 | |
| 6 | HOOK A | 12 | |
| 7 | SCREW tahos_10 X 3/4" | 12 | |
| 8 | RESONATOR 1 | 2 | |
| 9 | HOSEEXHAUST2 | 1 | |
| 10 | HOSEEXHAUST 3 | 1 | |
| 11 | HOSEEXHAUST4 | 1 | |
| 12 | PILOT WATER | 2 | |
| 13 | GASKET | 2 | |
| 14 | NUT | 2 | |
| 15 | BAND HOSE (5 per pack) | 2 | |
| 16 | BODY DRAIN 3 | 2 | |
| 17 | DRAIN COCKPIT | 2 | |
| 18 | PACKING (BODY DRAIN) | 2 | |
| 19 | CLAMP | 6 | |
| 20 | THRU-HULLEXHAUST | 2 | |
| 21 | VALVE EXHAUST | 2 | |
| 22 | BOLT | 6 | |
| 23 | WASHER SPRING | 6 | |
| 24 | WASHERPLATE (5 per pack) | 6 |
