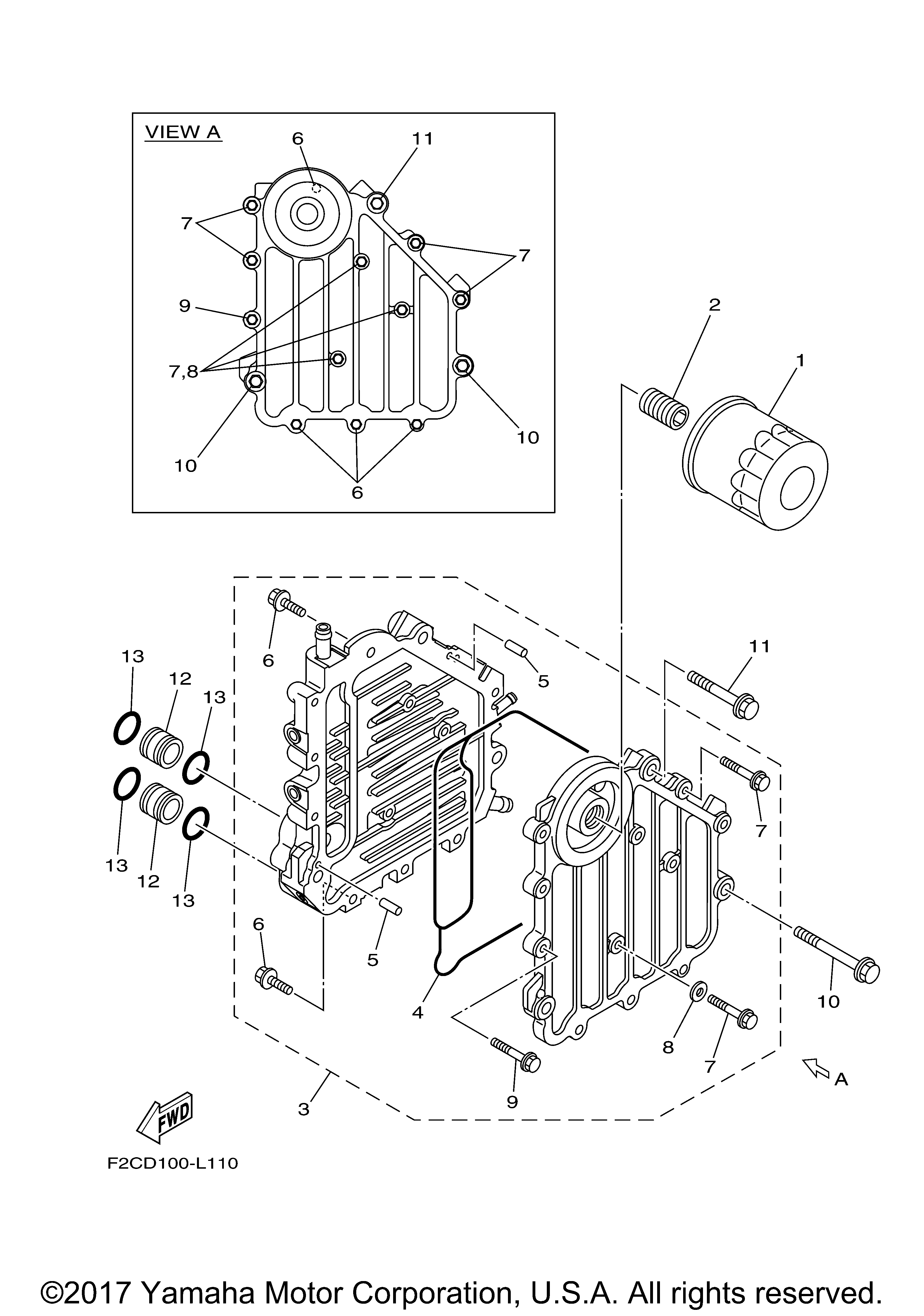
| № | Наименование | Примечание | Кол-во |
|---|---|---|---|
| 1 | Фильтр масляный | 1 | |
| 2 | BOLT UNION | 1 | |
| 3 | OIL COOLER ASSY | 1 | |
| 4 | GASKET MANIFOLD | 1 | |
| 5 | PINDOWEL (5 per pack) | 2 | |
| 6 | BOLT FLANGE | 4 | |
| 7 | BOLT FLANGE | 7 | |
| 8 | GASKET | 3 | |
| 9 | BOLT FLANGE | 1 | |
| 10 | BOLT FLANGE | 2 | |
| 11 | BOLT FLANGE | 1 | |
| 12 | CONNECTOR | 2 | |
| 13 | O-RING (5 per pack) | 4 |
