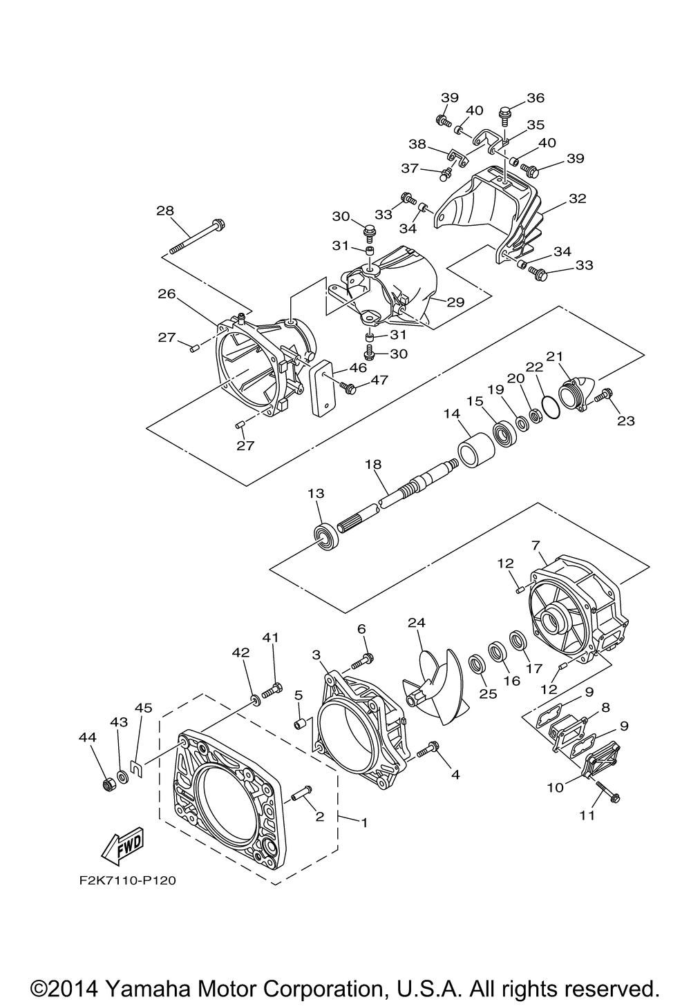
| № | Наименование | Примечание | Кол-во |
|---|---|---|---|
| 1 | PLATE TRANSOM | 1 | |
| 2 | NIPPLE | 1 | |
| 3 | HOUSING IMPELLER | 1 | |
| 4 | BOLTWITH WASHER | 1 | |
| 5 | COLLAR GUIDE | 2 | |
| 6 | BOLTWITH WASHER | 4 | |
| 7 | DUCT IMPELLER | 1 | |
| 8 | FILTER | 1 | |
| 9 | O-RING | 2 | |
| 10 | COVER WATER INLET | 1 | |
| 11 | BOLT WITH WASHER | 4 | |
| 12 | PINDOWEL (USA) (5 per pack) | 2 | |
| 13 | BEARING | 1 | |
| 14 | SPACER 1 | 1 | |
| 15 | BEARING | 1 | |
| 16 | OIL SEAL | 1 | |
| 17 | OIL SEAL | 1 | |
| 18 | SHAFT DRIVE | 1 | |
| 19 | WASHER | 1 | |
| 20 | NUT | 1 | |
| 21 | CAP | 1 | |
| 22 | O-RING | 1 | |
| 23 | BOLT HEXAGON SOCKET HEAD | 3 | |
| 24 | IMPELLER (PORT) PORT | 1 | |
| 24 | IMPELLER (STARBOARD) STBD | 1 | |
| 25 | SPACER | 1 | |
| 26 | NOZZLE | 1 | |
| 28 | BOLT WITH WASHER | 4 | |
| 29 | NOZZLE DEFLECTOR | 1 | |
| 30 | BOLT | 2 | |
| 31 | COLLAR | 2 | |
| 32 | GATE REVERSE | 1 | |
| 33 | BOLT | 2 | |
| 34 | COLLAR | 2 | |
| 35 | LEVER SHIFT ROD | 1 | |
| 36 | BOLT W/WASHER | 2 | |
| 37 | BOLT JOINT | 1 | |
| 38 | LEVERSHIFT ROD 2 | 1 | |
| 39 | BOLT W/WASHER (USA) | 2 | |
| 40 | COLLAR | 2 | |
| 41 | BOLT M10-1.5 X 65 | 8 | |
| 42 | WASHERPLATE (M10) | 8 | |
| 43 | WASHER 7/16X1 1/2 | 8 | |
| 44 | NUT M10-1.5 NYLOX | 8 | |
| 45 | SHIM (0.5) (T=0.5) UN (5 per pack) | 2 | |
| 46 | ANODE (A006760850) (A006760850) | 2 | |
| 47 | BOLT WITH WASHER | 4 |
