| № | Наименование | Примечание | Кол-во |
|---|---|---|---|
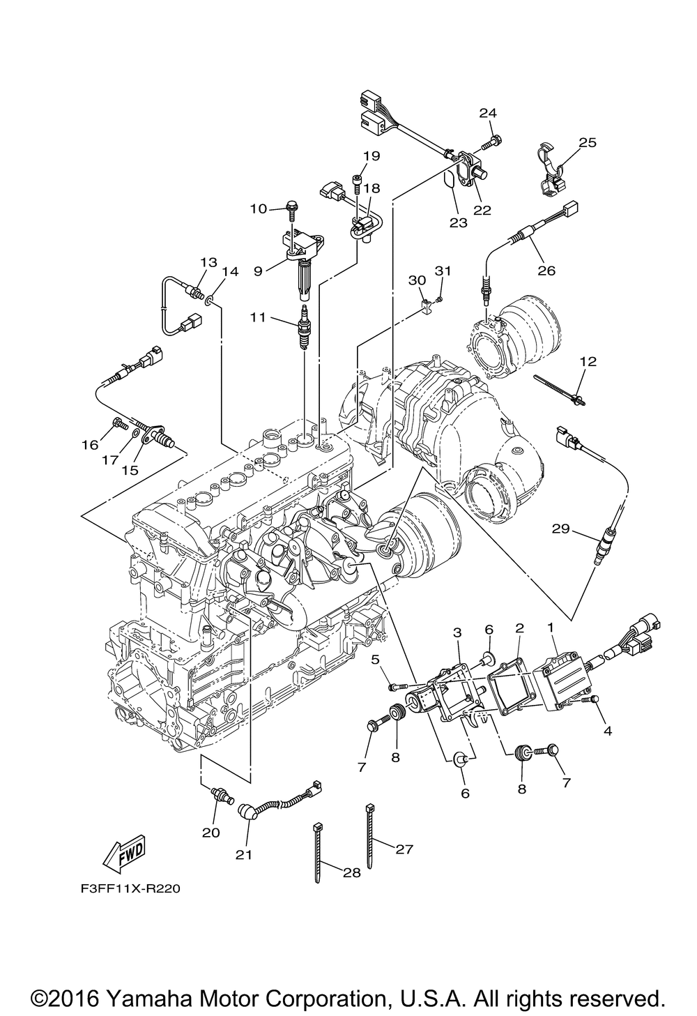
| 1 | RECTIFIER & REGULATO | 1 | |
| 2 | PLATE RECTIFIER FIT | 1 | |
| 3 | COVER RECTIFIER | 1 | |
| 4 | BOLT WITH WASHER | 2 | |
| 5 | BOLT WITH WASHER | 4 | |
| 6 | COLLAR | 2 | |
| 7 | BOLTWITH WASHER | 2 | |
| 8 | GROMMET | 2 | |
| 9 | IGNITION COIL ASSY | 4 | |
| 10 | BOLTWASHER BASED (5 per pack) | 8 | |
| 11 | LFR6A-11 NGK 10PK (NGK LFR6A-11) (10 per pack) | 4 | |
| 12 | CLAMP | 1 | |
| 13 | THERMOSENSOR ASY | 1 | |
| 14 | WASHER (5 per pack) | 1 | |
| 15 | THERMO SWITCH ASSY | 1 | |
| 16 | BOLT (GA1) (5 per pack) | 2 | |
| 17 | WASHER (5 per pack) | 2 | |
| 18 | SENSOR CAM POSITI | 1 | |
| 19 | BOLT | 1 | |
| 20 | OIL PRESSURE SWITCH | 1 | |
| 21 | LEAD WIRE ASSY | 1 | |
| 22 | EARTH PLATE COMP. | 1 | |
| 23 | O-RING | 1 | |
| 25 | CLAMP | 1 | |
| 26 | THERMOSENSOR ASSY | 1 | |
| 28 | BAND | 4 | |
| 29 | SENSOR OXYGEN | 2 | |
| 30 | BRACKET 1 | 1 | |
| 31 | BOLTBUTTON HEAD | 1 |
