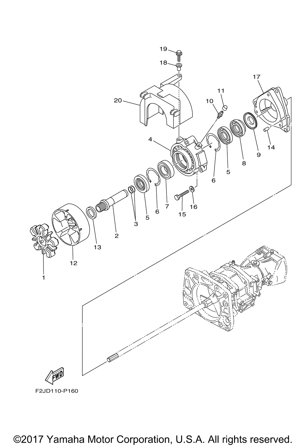
| № | Наименование | Примечание | Кол-во |
|---|---|---|---|
| 1 | RUBBER SHAFT COUPL | 1 | |
| 2 | SHAFT COUPLER | 1 | |
| 3 | O-RING | 2 | |
| 4 | HOUSING BEARING | 1 | |
| 5 | OIL SEAL | 2 | |
| 6 | CIRCLIP | 2 | |
| 7 | BEARING | 1 | |
| 8 | OIL SEAL | 1 | |
| 9 | WASHER THRUST | 1 | |
| 10 | NIPPLEGREASE | 1 | |
| 11 | CAPGREASE NIPPLE | 1 | |
| 12 | FLANGE COUPLING 1 | 1 | |
| 13 | WASHER | 1 | |
| 14 | PINDOWEL (USA) (5 per pack) | 2 | |
| 15 | BOLT | 3 | |
| 16 | WASHER (5 per pack) | 3 | |
| 17 | HOUSING BEARING | 1 | |
| 18 | COLLAR | 1 | |
| 19 | BOLTWITH WASHER | 1 | |
| 20 | COVER | 1 |
