| № | Наименование | Примечание | Кол-во |
|---|---|---|---|
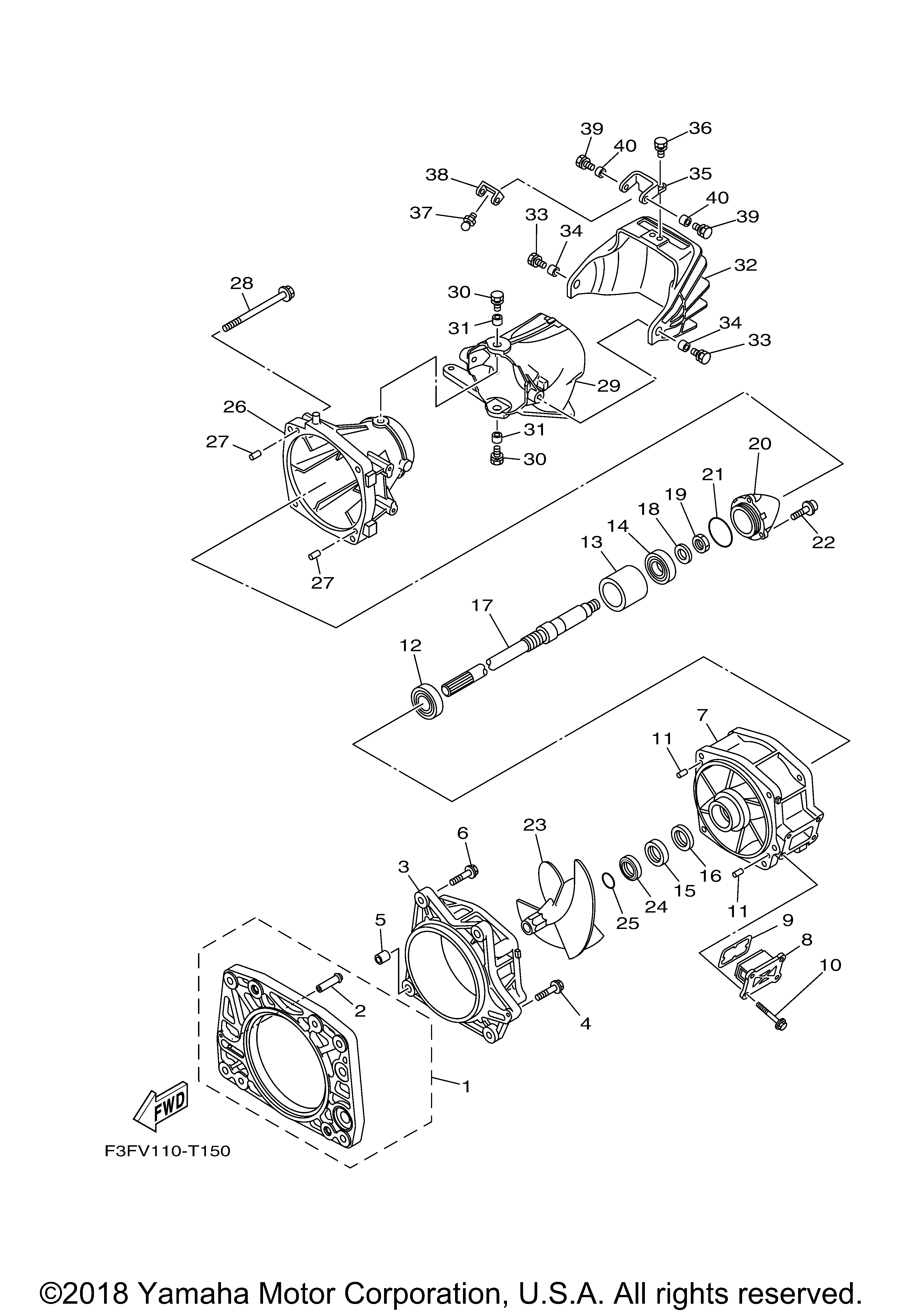
| 1 | PLATE TRANSOM | 1 | |
| 2 | NIPPLE | 1 | |
| 3 | HOUSING IMPELLER | 1 | |
| 4 | BOLTWITH WASHER | 1 | |
| 5 | COLLAR GUIDE | 2 | |
| 7 | DUCT IMPELLER | 1 | |
| 9 | O-RING | 1 | |
| 10 | BOLT W/WASHER | 4 | |
| 11 | PINDOWEL (USA) (5 per pack) | 2 | |
| 12 | BEARING | 1 | |
| 13 | SPACER 1 | 1 | |
| 14 | BEARING | 1 | |
| 15 | OIL SEAL | 1 | |
| 16 | OIL SEAL | 1 | |
| 17 | SHAFT DRIVE | 1 | |
| 18 | WASHER | 1 | |
| 19 | NUT (98812-20300) | 1 | |
| 20 | CAP | 1 | |
| 21 | O-RING | 1 | |
| 22 | BOLT HEXAGON SOCKET HEAD | 3 | |
| 23 | IMPELLER | 1 | |
| 24 | SPACER | 1 | |
| 25 | O-RING | 1 | |
| 26 | NOZZLE | 1 | |
| 28 | BOLT WITH WASHER | 4 | |
| 29 | NOZZLE DEFLECTOR | 1 | |
| 30 | BOLT | 2 | |
| 31 | COLLAR | 2 | |
| 32 | GATE REVERSE | 1 | |
| 33 | BOLT | 2 | |
| 34 | COLLAR | 2 | |
| 35 | LEVER SHIFT ROD | 1 | |
| 36 | BOLT W/WASHER | 2 | |
| 37 | BOLT JOINT | 1 | |
| 38 | LEVERSHIFT ROD 2 | 1 | |
| 39 | BOLT W/WASHER (USA) | 2 | |
| 40 | COLLAR | 2 |
