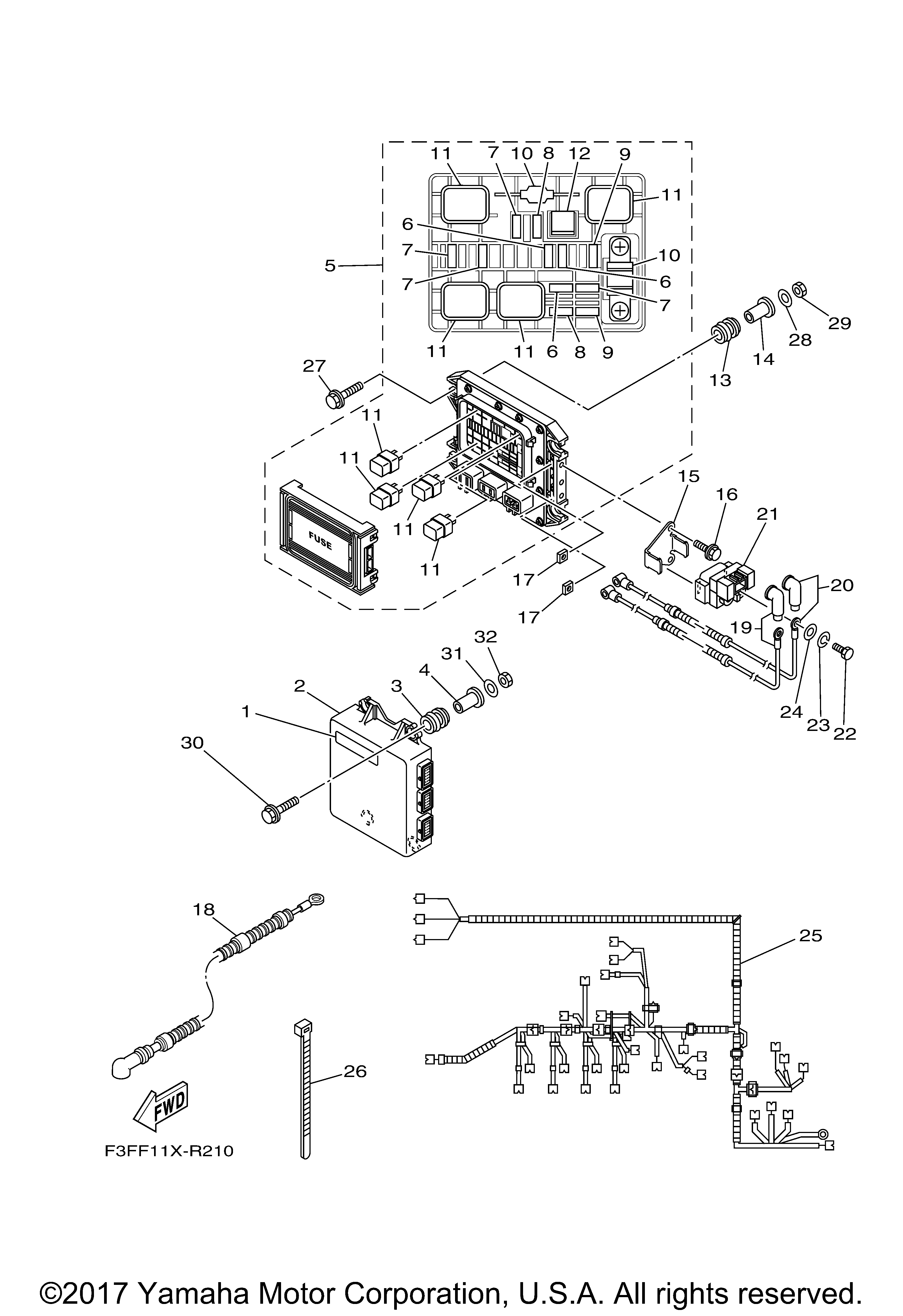
| № | Наименование | Примечание | Кол-во |
|---|---|---|---|
| 1 | LABEL CAUTION 7 | 1 | |
| 2 | ENGINE CONTROL UNIT | 1 | |
| 3 | DAMPERIGN COIL | 4 | |
| 4 | COLLAR | 4 | |
| 5 | FUSE BOX ASSY | 1 | |
| 6 | FUSE (3A-BL) | 3 | |
| 7 | FUSE (10A) (10A-BL) | 4 | |
| 8 | FUSE (20A-BL) (20A) | 2 | |
| 10 | FUSE (50A) (50A) | 2 | |
| 11 | RELAY ASSY | 4 | |
| 12 | PULLER FUSE | 1 | |
| 15 | STAY RELAY | 1 | |
| 16 | BOLT W/WASHER | 2 | |
| 17 | NUTSQUARE (1HV) | 2 | |
| 18 | WIRE MINUS LEAD | 1 | |
| 19 | WIRE PLUS LEAD | 1 | |
| 20 | WIRE LEAD | 1 | |
| 21 | STARTER RELAY ASSY (2768102-A) | 1 | |
| 22 | BOLT | 2 | |
| 23 | WASHER (5 per pack) | 2 | |
| 24 | WASHER (5 per pack) | 2 | |
| 25 | WIRE HARNESS ASSY 1 | 1 | |
| 26 | CLAMP (5 per pack) | 7 | |
| 27 | BOLT WITH WASHER | 8 | |
| 28 | WASHER 1/4" FLAT | 8 | |
| 29 | NUT FLANGE | 8 |
