| № | Наименование | Примечание | Кол-во |
|---|---|---|---|
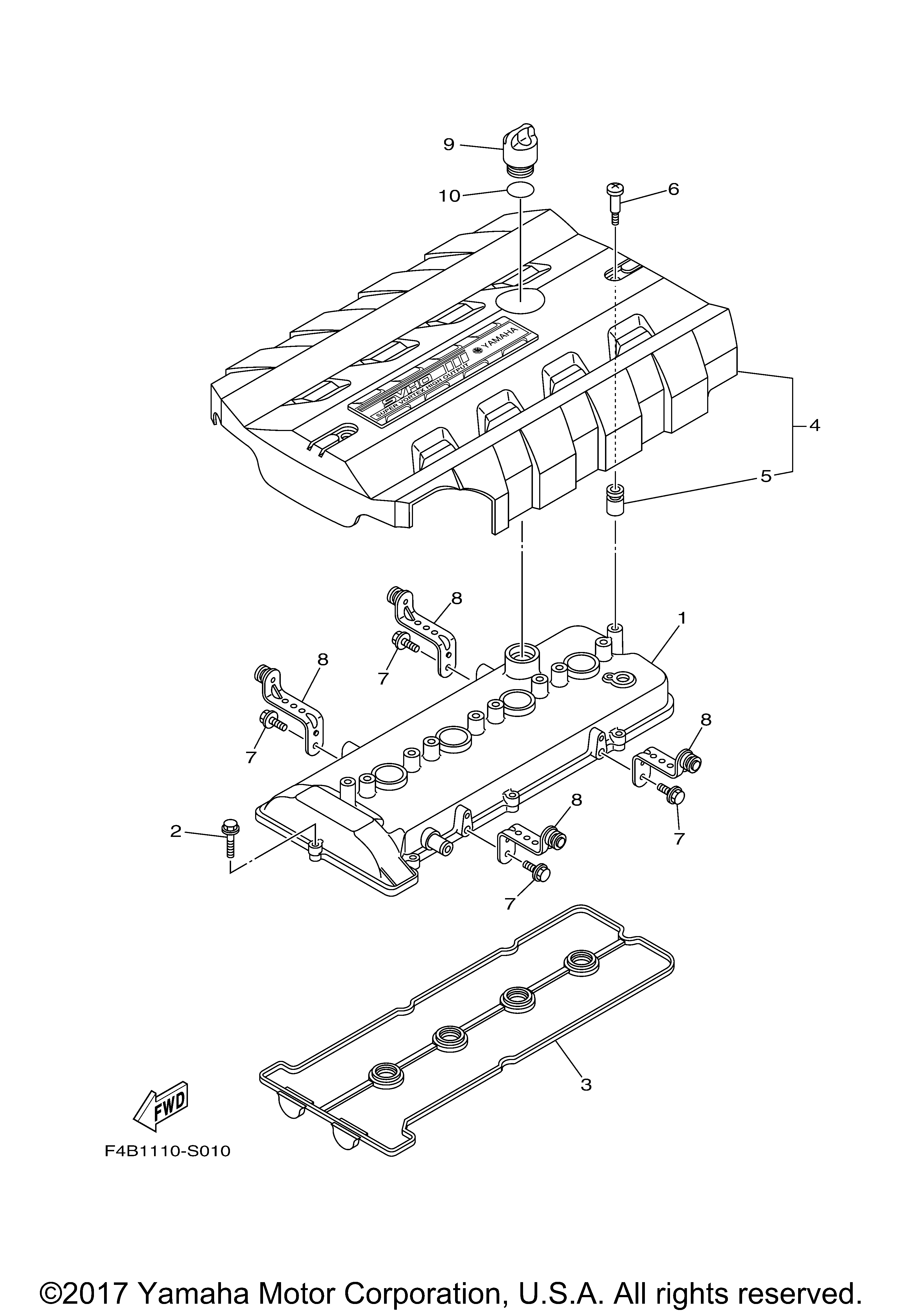
| 1 | COVER CYLINDER HEAD | 1 | |
| 2 | BOLT WASHER BASED | 8 | |
| 3 | GASKET HEAD COVER 1 | 1 | |
| 4 | COVER ASSY 1 | 1 | |
| 5 | GROMMET ANODE | 2 | |
| 6 | BOLT COVER MOUNTING | 2 | |
| 7 | BOLT FLANGE FOR CALIFORNIA | 4 | |
| 8 | STAY | 4 | |
| 9 | PLUG OIL | 1 | |
| 10 | O-RING | 1 |
| Корзина пуста |
| № | Наименование | Примечание | Кол-во |
|---|---|---|---|
| 1 | COVER CYLINDER HEAD | 1 | |
| 2 | BOLT WASHER BASED | 8 | |
| 3 | GASKET HEAD COVER 1 | 1 | |
| 4 | COVER ASSY 1 | 1 | |
| 5 | GROMMET ANODE | 2 | |
| 6 | BOLT COVER MOUNTING | 2 | |
| 7 | BOLT FLANGE FOR CALIFORNIA | 4 | |
| 8 | STAY | 4 | |
| 9 | PLUG OIL | 1 | |
| 10 | O-RING | 1 |