| № | Наименование | Примечание | Кол-во |
|---|---|---|---|
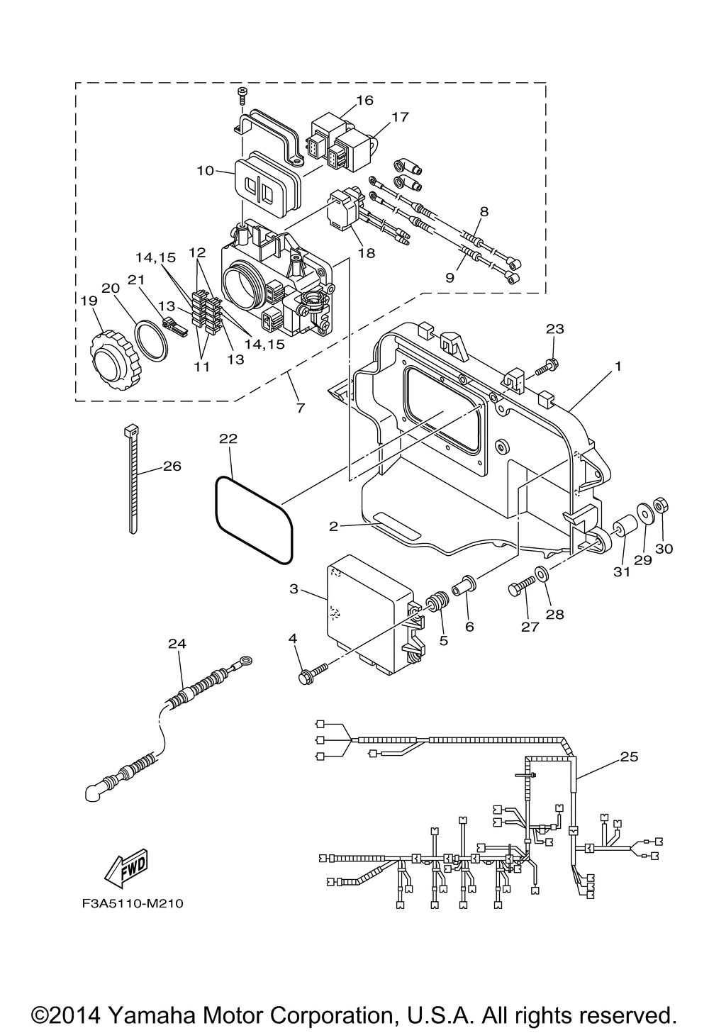
| 1 | PLATE | 1 | |
| 2 | LABEL CAUTION 7 | 1 | |
| 3 | ENGINE CONTROL UNIT | 1 | |
| 4 | BOLTWITH WASHER | 4 | |
| 5 | DAMPERIGN COIL | 4 | |
| 6 | COLLAR | 4 | |
| 7 | FUSE BOX ASSY | 1 | |
| 8 | WIRE PLUS LEAD | 1 | |
| 9 | . .WIRE LEAD | 1 | |
| 10 | DAMPER | 1 | |
| 11 | FUSE (20A-BL) (20A) | 2 | |
| 12 | FUSE (30A) | 2 | |
| 13 | FUSE (3A-BL) | 2 | |
| 14 | FUSE (10A) (10A-BL) | 2 | |
| 16 | RELAY ASSY | 1 | |
| 17 | RELAY ASSY | 1 | |
| 18 | STARTER RELAY ASSY | 1 | |
| 19 | CAP | 1 | |
| 20 | GASKET | 1 | |
| 21 | PULLER FUSE | 1 | |
| 22 | O-RING | 1 | |
| 23 | BOLT WITH WASHER | 6 | |
| 24 | WIRE MINUS LEAD | 1 | |
| 25 | WIRE HARNESS ASSY 1 | 1 | |
| 26 | CLAMP (5 per pack) | 7 | |
| 27 | BOLT M10-1.5 X 65 | 8 | |
| 28 | WASHERPLATE (M10) | 8 | |
| 29 | WASHER 7/16X1 1/2 | 8 | |
| 30 | NUT M10-1.5 NYLOX | 8 | |
| 31 | SPACER ECU MOUNT 2 | 8 |
