| № | Наименование | Примечание | Кол-во |
|---|---|---|---|
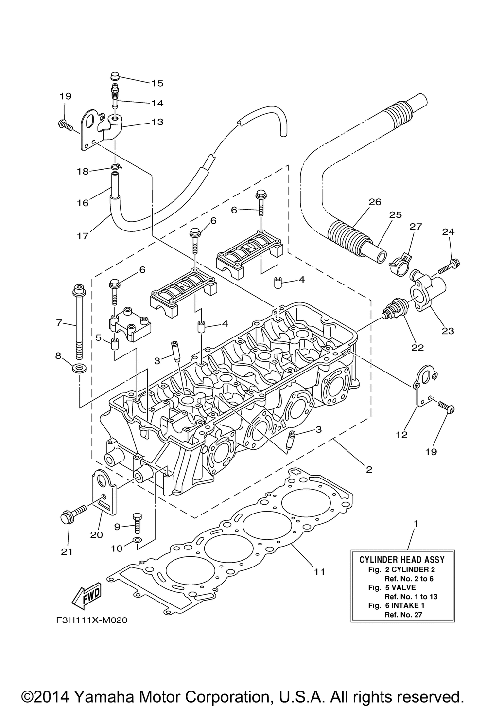
| 1 | CYLINDER HEAD COMP | 1 | |
| 2 | CYLINDER HEAD ASSY | 1 | |
| 3 | GUIDE VALVE 1 | 16 | |
| 4 | PIN DOWEL | 8 | |
| 6 | BOLT FLANGE | 24 | |
| 7 | BOLT | 10 | |
| 8 | WASHER PLATE | 10 | |
| 9 | BOLT (661) | 3 | |
| 10 | WASHER (5 per pack) | 3 | |
| 11 | GASKET CYLINDER HEA | 1 | |
| 12 | HANGER ENGINE 2 | 1 | |
| 13 | HANGER ENGINE | 1 | |
| 14 | GREASE NIPPLE | 1 | |
| 15 | CAPGREASE NIPPLE | 1 | |
| 16 | HOSE DELIVERY | 1 | |
| 17 | HOSE (L250) | 1 | |
| 18 | CLAMP | 1 | |
| 19 | BOLTBUTTON HEAD | 4 | |
| 20 | HANGER ENGINE | 1 | |
| 21 | BOLT WITH WASHER | 1 | |
| 22 | THERMOSTAT | 1 | |
| 23 | COVER THERMOSTAT | 1 | |
| 24 | BOLT FLANGE | 2 | |
| 25 | HOSE 3 | 1 | |
| 26 | TUBE (L700) | 1 | |
| 27 | CLIP | 1 |
