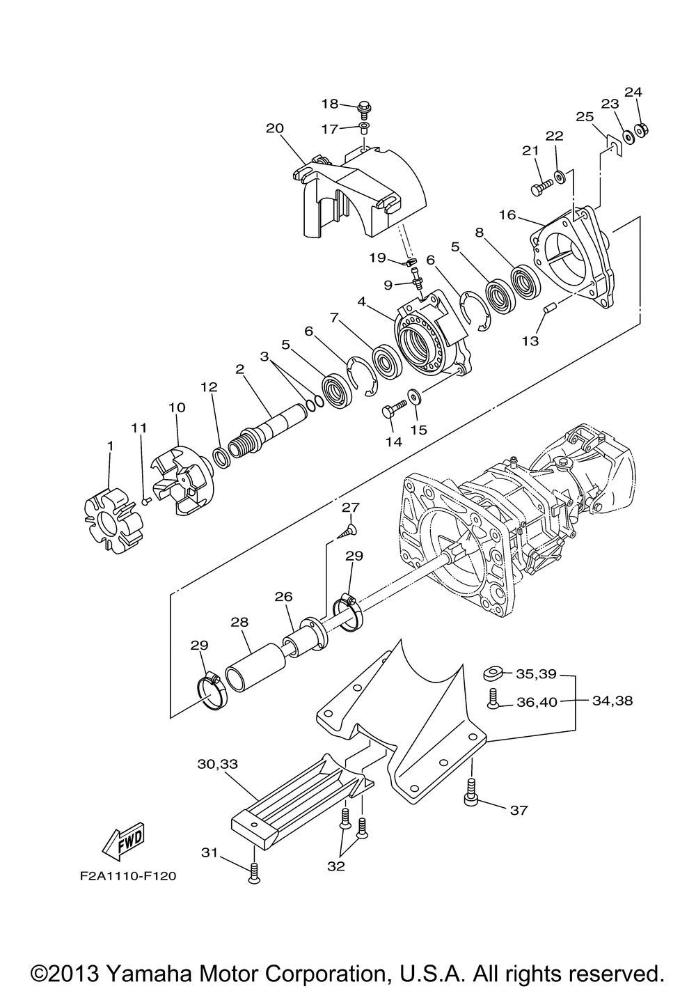
| № | Наименование | Примечание | Кол-во |
|---|---|---|---|
| 1 | RUBBER SHAFT COUPLIN | 1 | |
| 2 | SHAFT COUPLOR | 1 | |
| 3 | O-RING | 2 | |
| 4 | HOUSINGBEARING | 1 | |
| 5 | OIL SEALS-TYPE | 2 | |
| 6 | CIRCLIP | 2 | |
| 7 | BEARING | 1 | |
| 8 | OIL SEALS-TYPE | 1 | |
| 9 | NIPPLEHOSE | 1 | |
| 10 | FLANGE COUPLING | 1 | |
| 11 | RIVET CLOSED END | 1 | |
| 12 | WASHER PLATE | 1 | |
| 13 | PINDOWEL (USA) (5 per pack) | 2 | |
| 14 | BOLT | 3 | |
| 15 | WASHER (5 per pack) | 3 | |
| 16 | HOUSING BEARING | 1 | |
| 17 | COLLAR | 1 | |
| 18 | BOLTWITH WASHER | 1 | |
| 19 | BAND HOSE 50 (5 per pack) | 1 | |
| 20 | COVER | 1 | |
| 21 | BOLT | 6 | |
| 22 | WASHER PLATE (10 per pack) | 7 | |
| 23 | WASHER 5/16X1 1/2 | 5 | |
| 24 | NUT SELF-LOCKING | 6 | |
| 25 | SHIM (0.5) (T=0.5) UN (5 per pack) | 2 | |
| 26 | THRU HULL | 2 | |
| 27 | SCREW TAPPING | 6 | |
| 28 | PIPE 1 | 2 | |
| 29 | HOSE CLAMP ASSY | 4 | |
| 30 | SCREENINTAKE | 1 | |
| 31 | SCREW FLAT HEAD | 2 | |
| 32 | SCREW FLAT HEAD | 4 | |
| 33 | SCREENINTAKE | 1 | |
| 34 | DUCT INTAKE PORT | 1 | |
| 35 | ANODE (A006760850) | 1 | |
| 36 | SCREW tahos_10-32 X 1/2 | 1 | |
| 37 | BOLT HEX SOCKET | 12 | |
| 38 | DUCT INTAKE STBD | 1 |
