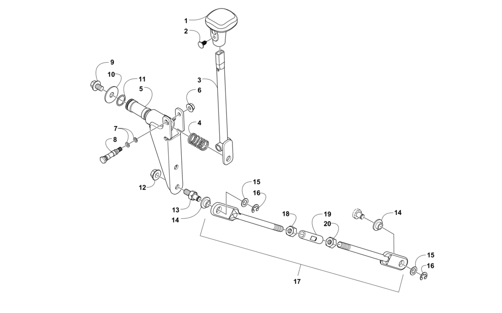
| № | Наименование | Примечание | Кол-во |
|---|---|---|---|
| 1 | KNOBSHIFT | 1 | |
| 2 | CLIPPUSH | 1 | |
| 3 | LEVERSHIFT-PTD BLK (ATV 151) Black | 1 | |
| 4 | SPRINGSHIFTER | 1 | |
| 5 | SHAFTSHIFT-PTD BLACK | 1 | |
| 6 | NUTHEX-FLG M6X1.0 CL8 Z&Y (4 per pack) | 1 | |
| 7 | O-RING-008 (3/16X5/16X1/16) (4 per pack) | 2 | |
| 8 | AXLEPIVOTSHAFT | 1 | |
| 9 | SCREWCAP-HFH M8X1.25X12 CL8.8 Z&Y (5 per pack) | 1 | |
| 10 | WASHER5/16 X 1 1/8-1/16 -Z&Y (5 per pack) | 1 | |
| 11 | O-RING-016 (5/8X3/4X1/16) | 2 | |
| 12 | NUTHEX-FLG M8X1.25 CL8 Z&Y | 1 | |
| 13 | PINSHIFT LINKAGE MOUNT | 1 | |
| 14 | BUSHINGSHIFT | 2 | |
| 15 | WASHER FLAT - 5/16 ID (10 per pack) | 2 | |
| 16 | E-RING5/16-(.242 X.588 X.035) (2 per pack) | 2 | |
| 17 | LINKAGESHIFT-ASSEMBLY (inc. 18-20) | 1 | |
| 18 | NUTHEX-3/8-24 UNF W/CLEAR CHROMATE (5 per pack) | 1 | |
| 20 | NUT HEX 3/8-24 LH (10 per pack) | 1 |
