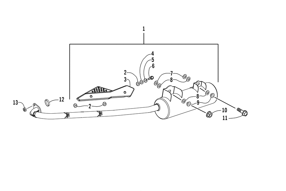
| № | Наименование | Примечание | Кол-во |
|---|---|---|---|
| 1 | MUFFLER ASSY EXH (inc. 2-9) | 1 | |
| 2 | PACKING PROTECTOR | 4 | |
| 3 | PROTECTOR PIPE EXHAUST | 1 | |
| 4 | WASHER PLAIN 6MM (5 per pack) | 2 | |
| 5 | WASHER SPRING 6MM (5 per pack) | 2 | |
| 6 | BOLT FLANGE SH 6*12 (10 per pack) | 2 | |
| 7 | RUBBER MUFFLER STAY (2 per pack) | 2 | |
| 8 | PACKING MUFFLER STAY | 4 | |
| 9 | COLLAR MUFFLER STAY (2 per pack) | 2 | |
| 10 | NUT FLANGE 8MM (4 per pack) | 1 | |
| 11 | BOLT FLANGE 8*25 (5 per pack) | 1 | |
| 12 | GASKET EXHAUST PIPE | 1 | |
| 13 | NUT HEX 8MM (2 per pack) | 2 |
