| № | Наименование | Примечание | Кол-во |
|---|---|---|---|
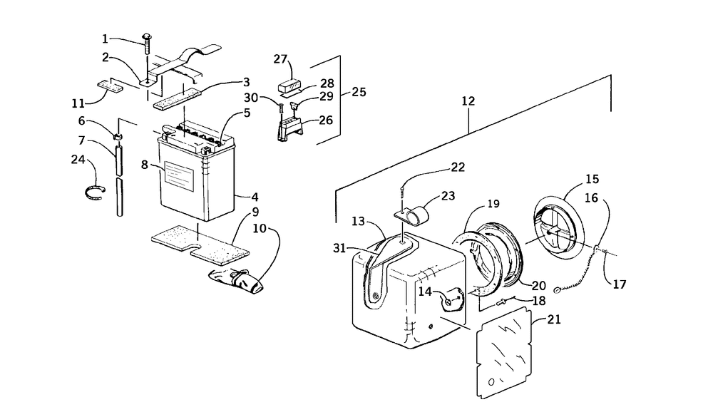
| 1 | SCREWMACH-TSTRH M6X1.0X16 Z&BLK (5 per pack) | 1 | |
| 2 | STRAPBATTERY W/PAD (inc. 2-3) | 1 | |
| 3 | PADBATTERY-TOP RR | 1 | |
| 4 | BATTERY PKG (0645-165) (inc. 2-6) | 1 | |
| 5 | BATTERY CAP (6 per pack) | 6 | |
| 6 | CLAMP HOSE-BATTERY VENT | 1 | |
| 7 | HOSE BATTERY VENT-550MM | 1 | |
| 8 | LABEL WARNING-BATTERY | 1 | |
| 9 | PADBATTERY-LOWER | 1 | |
| 10 | KIT TOOL | 1 | |
| 11 | PADBATTERY-TOP FR | 1 | |
| 12 | BOX TOOL-ASSY (inc. 13-21) | 1 | |
| 13 | BOX TOOL-ROUTED | 1 | |
| 14 | WASHERFLAT .194X.50X.048 (4 per pack) | 6 | |
| 15 | LIDTOOLBOX | 1 | |
| 16 | CHAIN STORAGE MFG ASSY | 1 | |
| 17 | RIVETBLIND-LF AA42 BLACK (5 per pack) | 2 | |
| 18 | RIVETBLIND-DH AA68 BLK (10 per pack) | 6 | |
| 19 | SEAL STORAGE COVER | 1 | |
| 20 | RINGMNTG-TOOL BOX LID | 1 | |
| 21 | SHIELD HEAT | 1 | |
| 22 | SCREWMACH-PHTRH tahos_10-32X3/4 Z&Y (10 per pack) | 4 | |
| 23 | CLAMPTUBE-1" ARDEN(COV 1709 ZI) | 4 | |
| 24 | TIECABLE 11.50 (10 per pack) | 2 | |
| 25 | FUSE BOX-ASSY (inc. 22-23) | 1 | |
| 28 | DECALFUSE BLOCK | 1 | |
| 29 | FUSE10 AMP ATO | 4 | |
| 29 | FUSE15 AMP ATO | 2 | |
| 30 | SCREWSELF TAP-HWH tahos_10-24X1/2 TYP F Z&Y (5 per pack) | 2 | |
| 31 | BRACKETTOOLBOX-RH ASSY | 1 | |
| 31 | BRACKETTOOLBOX-LH ASSY | 1 |
