| № | Наименование | Примечание | Кол-во |
|---|---|---|---|
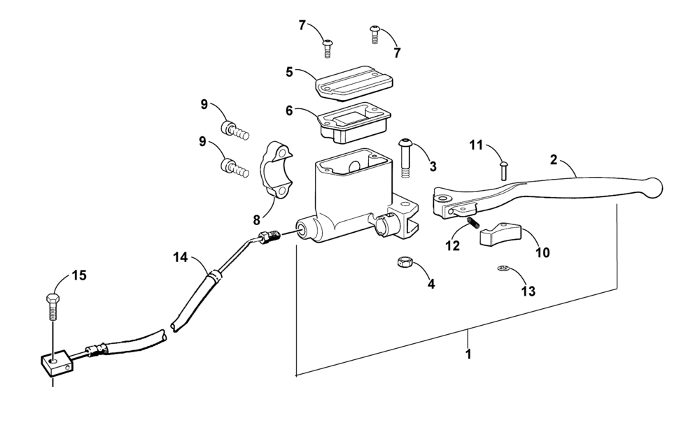
| 1 | MASTER CYLINDER - ASSEMBLY (inc. 2-18) | 1 | |
| 2 | LEVER BRAKE | 1 | |
| 3 | BOLT LEVER MOUNTING | 1 | |
| 4 | NUTHEX LOCK-M6-1 | 1 | |
| 5 | COVERMASTER CYLINDER | 1 | |
| 6 | BLADDER RESERVOIR (OL) | 1 | |
| 7 | SCREWTSBH M4-.7X12 BLK (2 per pack) | 2 | |
| 8 | CLAMP MASTER CYL | 1 | |
| 9 | SCREWSHCS M6-1X20 (2 per pack) | 2 | |
| 10 | LOCK BRAKE LEVER | 1 | |
| 11 | RIVET.125 X .50L BLK (2 per pack) | 1 | |
| 12 | SPRING PARKINGBRAKE LOCK (OL) | 1 | |
| 13 | WASHERLOCK-RETAINING (4 per pack) | 1 | |
| 14 | KIT-HOSEBRAKE MASTER CYLINDER | 1 | |
| 15 | SCREWMACH-TSTRH M6X1.0X25 Z&Y (5 per pack) | 1 |
