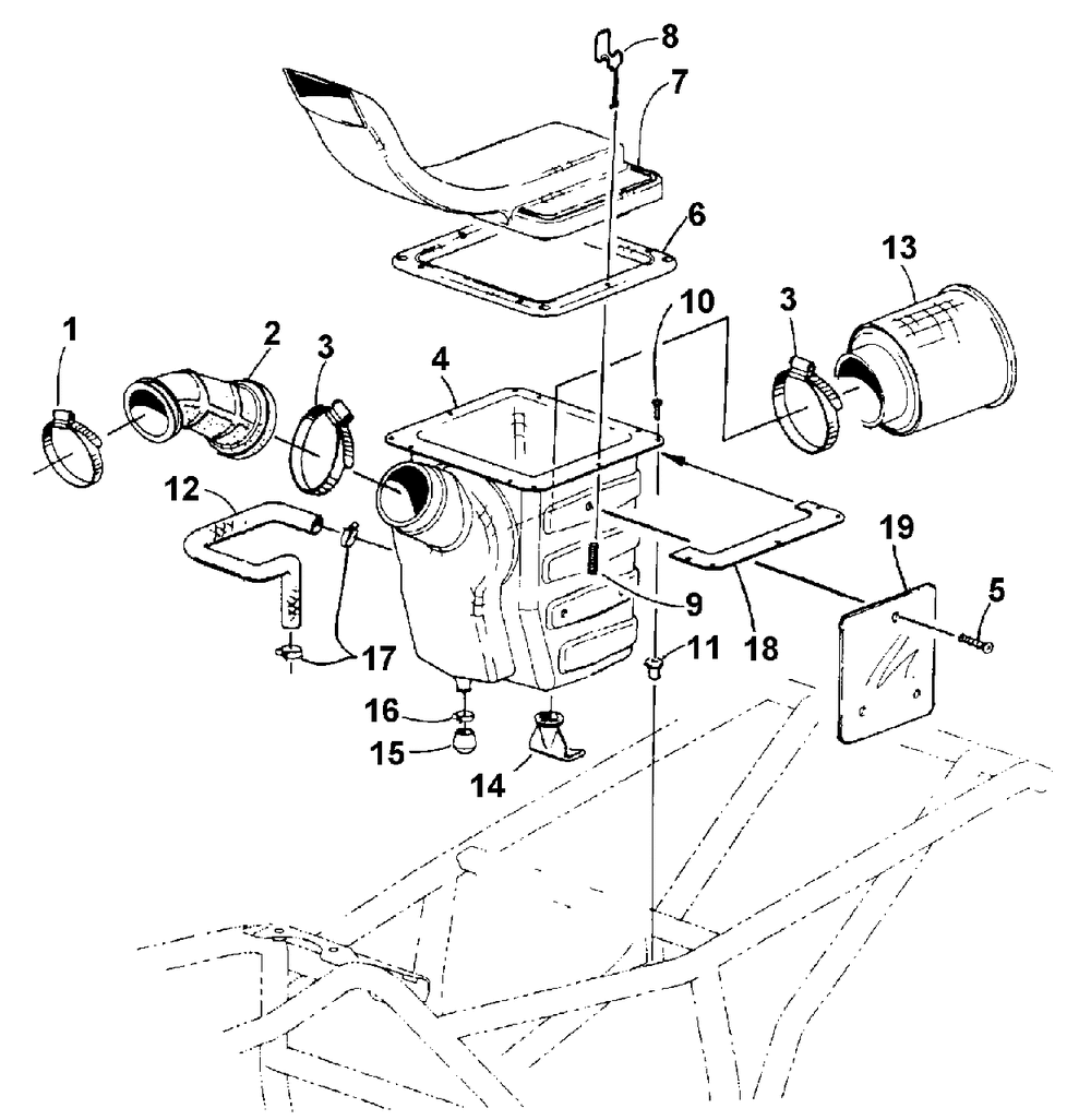
| № | Наименование | Примечание | Кол-во |
|---|---|---|---|
| 1 | CLAMPHOSE-WORM (NORMA 50-70) | 1 | |
| 2 | BOOTAIR CLEANER(KEIHIN) | 1 | |
| 3 | CLAMPHOSE-WORM (NORMA 60-80) | 2 | |
| 4 | HOUSINGAIR CLEANER W/PLATE | 1 | |
| 5 | SCREWSELF TAP-HWH 10X1/2 AB Z&Y (2 per pack) | 3 | |
| 6 | GASKETAIR CLEANER/SNORKEL | 1 | |
| 7 | SNORKLEAIR CLEANER | 1 | |
| 8 | CLAMPAIR CLEANER | 4 | |
| 9 | SPRINGAIR CLEANER | 4 | |
| 10 | SCREWMACH-PHTRH tahos_10-32X3/4 Z&Y (10 per pack) | 3 | |
| 11 | NUTEXPANSION 10-32 (20 per pack) | 3 | |
| 12 | HOSEVENT-CRANKCASE | 1 | |
| 13 | FILTERAIR CLEANER | 1 | |
| 14 | VALVE AIR CLEANER | 1 | |
| 15 | CAPFITTING-RUBBER | 1 | |
| 16 | CLAMPHOSE- SPRING .675" ID X .38" | 1 | |
| 17 | CLAMPHOSE-SPRING(.685"ID X.38") | 2 | |
| 18 | SUPPORT AIR CLEANER | 2 | |
| 19 | PLATEHEAT-AIR BOX | 1 |
